MANIFOLD

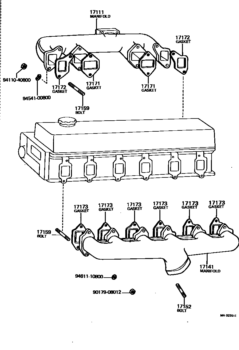
17111MANIFOLD, INTAKE
17141MANIFOLD, EXHAUST
17152BOLT, STUD(FOR MANIFOLD TO EXHAUST PIPE)
L=37,S=20&14
L=42,S=16&23
L=37,S=20&13
17159BOLT, STUD(FOR MANIFOLD TO CYLINDER HEAD)
L=34.5,S=9&16
L=42,S=10&21
L=42,S=10&21
INTAKE MANIFOLD
EXHAUST MANIFOLD
17171GASKET, INTAKE TO EXHAUST MANIFOLD
17172GASKET, MANIFOLD TO CYLINDER HEAD
17173GASKET, EXHAUST MANIFOLD TO HEAD
9017908012
main90179-08012
9411040800
main94110-40800
9454100800
main94541-00800
9461110800
main94611-10800
11 parts on this diagram · 5 diagrams in section