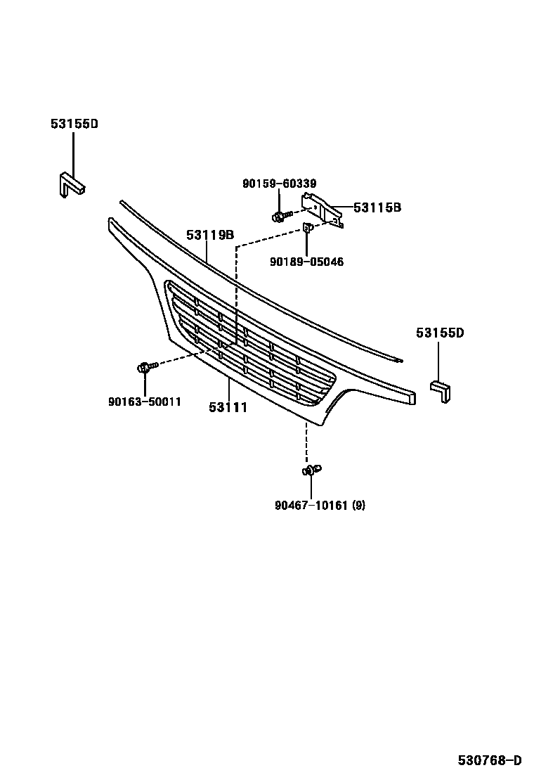
RADIATOR GRILLE

53111GRILLE, RADIATOR
WHITE,058
SILVER ME,199
main53111-37220-B1iXZU382..SCB..IV3;XZU342..T4..DSL..IV3;BU346,RZU300,XZU307,337,347..SCB..T4..20T..IV3;BU30#,XZU302,362..SCB..(T2,T4)..20T..(CNG,DSL)..IV3200011-200206
COBALT GREEN,9A7
RED,391
RED,3L5
main53111-37220-H0iBU30#,346,RZU300,340,XZU30#,31#,32#,33#,34#,35#,362,372,382..CBU,IV3,IV6,IV7199905-200206
TURQUOISE,766
main53111-37220-J1iBU30#,346,RZU300,340,XZU30#,31#,32#,33#,34#,35#,362,372,382..CBU,IV3,IV6,IV7199905-200206
BLUE,8P0
main53111-37450-A0iXZU301..DSLL..4NO;XZU306..4FC..DSLL;XZU306..5F..DSLL..CBU;XZU301,306..(T3,T4,T5)..(DSL,LPG)..(CBU,IV3);BU30#,346,BZU300,340,RZU30#,340,XZU300,302,307,322,33#,340,341,342,346,347,362,372,382..(T1,T2,T3,T4,T5)..(CBU,IV3)200206-200406
main53111-37450-B0iBU30#,RZU300,340,XZU302,307,337,342,347,362,372,382..SCB..T4..20T..IV3200206-200302
main53111-37450-B1iBZU300,340,RZU30#,340,XZU301,304,306,308,33#,34#,368,378,388..(T1,T2,T3,T4,T5)..(CBU,IV3)200406-200705
53115BBRACKET, RADIATOR GRILLE
53119BPROTECTOR, RADIATOR GRILLE
main53119-37030iXZU301..DSLL..4NO;XZU306..DSLL..CBU;XZU306..4FC..DSLL..IV3;XZU301,306,331..CNG,DSL,LPG;BU30#,346,BZU300,340,RZU30#,340,XZU300,302,307,31#,32#,330,337,340,341,342,346,347,35#,362,37#,382200206-200406
53155DSEAL, RADIATOR GRILLE, NO.1
9015960339
main90159-60339
9016350011
main90163-50011
9018905046
main90189-05046
9046710161
main90467-10161
8 parts on this diagram · 3 diagrams in section