E
EPC Data
Pricing
API Docs
Sign In
Home
›
JP
›
751160
›
IGNITION COIL & SPARK PLUG / GLOW PLUG
IGNITION COIL & SPARK PLUG / GLOW PLUG
0001 1
0002 1
0003 1
0004 1
0005 1
0006 1
0007 1
1703
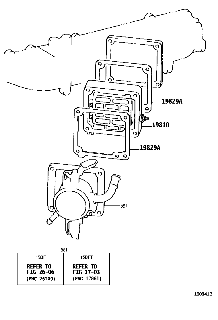
19810
HEATER ASSY, INTAKE
main
19810-17020
i
15BF,15BFT..BU102,107,112,122,13#,142,147,162,172,182,202,212,222,297
199505
19829A
GASKET, INTAKE HEATER
main
19829-17010
i
15BF,15BFT..BU102,107,112,122,13#,142,147,162,172,182,202,212,222,297
199505-199906
2606
4 parts on this diagram · 7 diagrams in section
IGNITION COIL & SPARK PLUG / GLOW PLUG — Toyota Parts Diagram with OEM Numbers & Prices | EPC Data