E
EPC Data

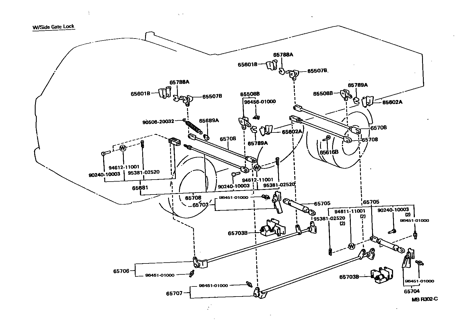
REAR BODY SIDE GATE LOCK & TAIL GATE LOCK

Parts diagram
65507BSUPPORT, CORNER, RH
main65507-93300×2i198808-198910
main65630-93301×2i198910-199505
65508BSUPPORT, CORNER, LH
main65508-93300×2i198808-198910
main65640-93301×2i198910-199505
65601BSKIRT SUB-ASSY, SIDE PANEL
main65601-93301×2i198808-198910
main65601-93302×2i198910-199505
65602ASKIRT SUB-ASSY, SIDE
main65602-93301×2i198808-198910
main65602-93302×2i198910-199505
65616BGUIDE
main65616-93300×4i198910-199505
65681END, TAIL GATE LOCK LINK
main65680-93301×2i198808-198910
65689ABRACKET
main65689-93200×4i198808-199505
65703COM LEVER ASSY, SIDE GATE AUTO LOCK MECHANISM, RH
main65703-93301i198808-199505
65703BBAR SUB-ASSY, TAIL GATE
main65703-93302×2i198808-199505
65704COM LEVER ASSY, SIDE GATE AUTO LOCK MECHANISM, LH
main65704-93301i198808-199505
65705LINK SUB-ASSY, SIDE GATE LOCK
main65705-93301×2i198808-199505
65706SHAFT ASSY, SIDE GATE LINK CONTROL, RH
main65706-93301i198808-199505
65707SHAFT ASSY, SIDE GATE LINK CONTROL, LH
main65707-93301i198808-199505
65708ROD ASSY, SIDE GATE ROD CONTROL
main65708-93302×4i198808-199505
65788SPRING, TAIL GATE CONTROL ROD RETURN
main65788-93000×2i198808-199505
65788ABASE, TAIL GATE LOCK
main65051-93300×2i198910-199505
main65788-93300×2i198808-198910
65789ABASE, TAIL GATE LOCK
main65052-93300×2i198910-199505
main65789-93300×2i198808-198910
9024010003
9050620032
9461111001
9461211001
9538102520
9645101000
9645601000

24 parts on this diagram · 3 diagrams in section

REAR BODY SIDE GATE LOCK & TAIL GATE LOCK — Toyota Parts Diagram with OEM Numbers & Prices | EPC Data