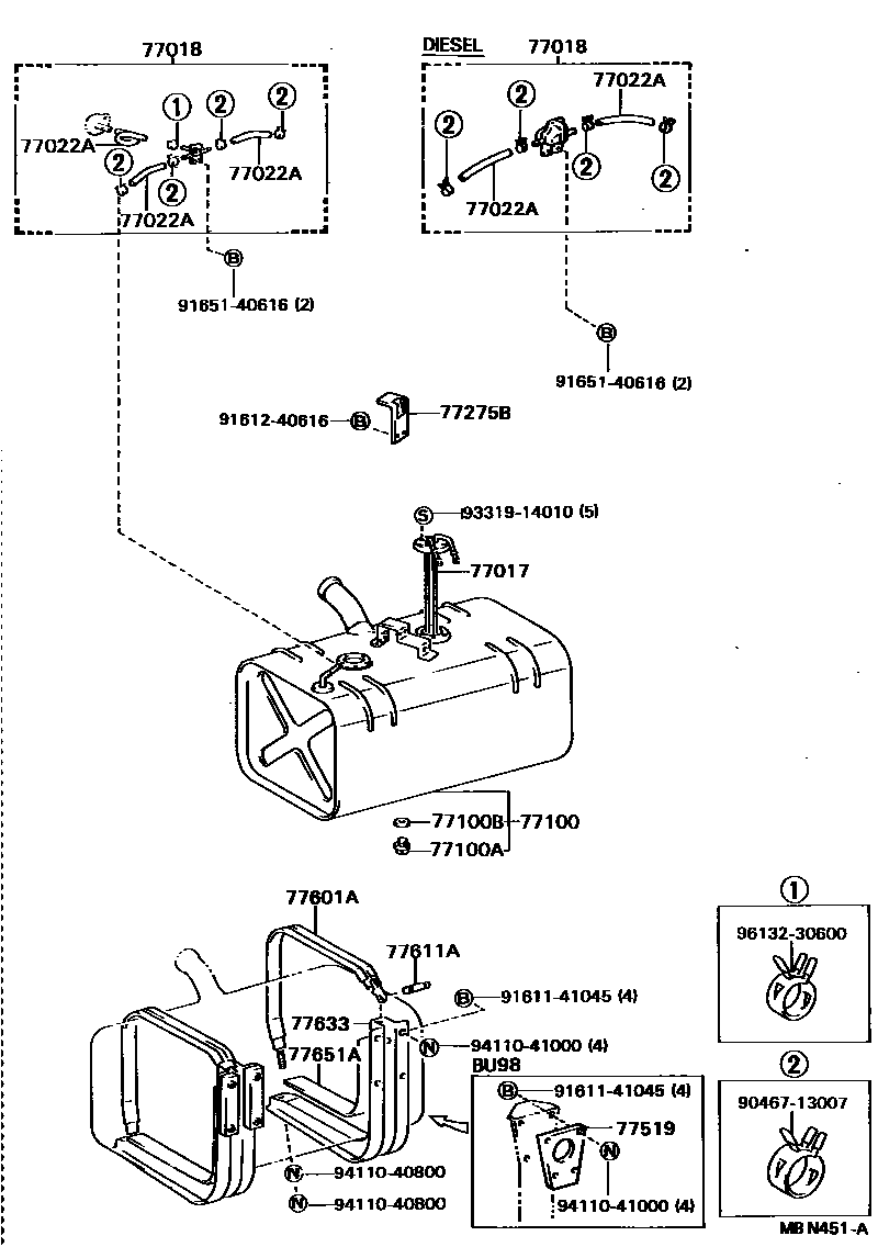
FUEL TANK & TUBE

77017TUBE SUB-ASSY, FUEL AND EVAPORATION VENT
77100APLUG(FOR FUEL TANK)
77100BGASKET(FOR FUEL TANK)
77275BPROTECTOR, FUEL LIQUID VAPOR SEPARATOR VALVE
77519SPACER, FUEL TANK BRACKET
FRONT
REAR
77611APIN (FOR FUEL TANK BAND)
77633STAY, FUEL TANK
sub77501-25091
sub77501-25091
sub77501-36071
FRONT
REAR
sub77633-36091
sub77633-36112
sub77633-36112
sub77633-36121
77651ACUSHION, FUEL TANK, NO.1
main77651-36110iBU82,85..T2,T4;BU61,64,80,81..WT;BU60,62,90..(DM2,T1,T2,T4,TW1)..(20T,35T,IV4)198708-198808
9046713007
main90467-13007
9161141045
main91611-41045
9161240616
main91612-40616
9165140616
main91651-40616
9331914010
main93319-14010
9411040800
main94110-40800
9411041000
main94110-41000
9613230600
main96132-30600
20 parts on this diagram · 7 diagrams in section