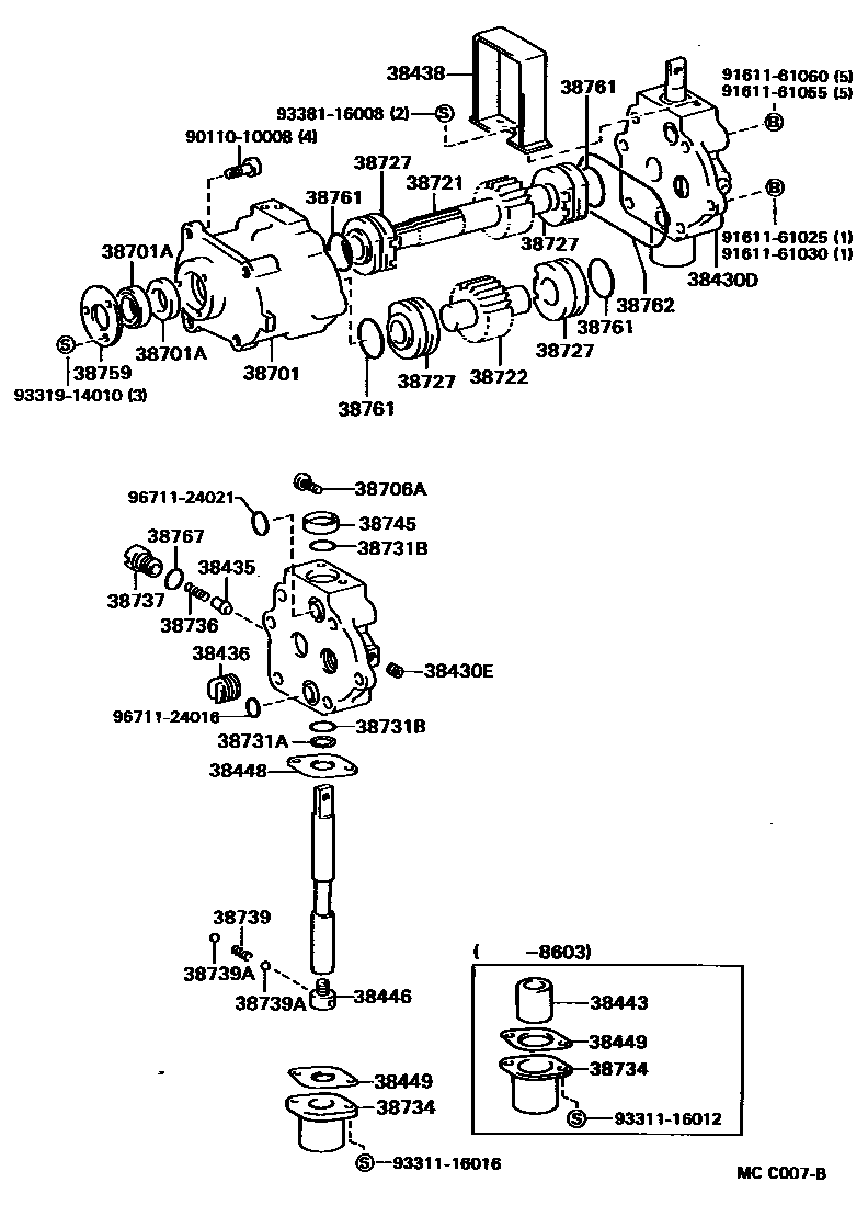
POWER TAKE-OFF OIL PUMP

38430EPLUG (FOR POWER CONTROL VALVE)
38435VALVE, POWER CONTROL CHECK, NO.1
38443SLEEVE, POWER CONTROL VALVE PLUNGER
38446STOPPER, POWER CONTROL DETENTION SPRING
38448HOLDER, POWER CONTROL PLUNGER COVER
38449GASKET, POWER CONTROL PLUNGER COVER
38701BODY SUB-ASSY, OIL PUMP
38701ASEAL, OIL (FOR OIL PUMP BODY)
FR
RR
38706ABOLT, SERRATION (FOR OIL PUMP VALVE)
38721GEAR, OIL PUMP DRIVE
38722GEAR, OIL PUMP COUNTER
38727BUSH, INNER (FOR OIL PUMP)
38731ARING, O (FOR PLUNGER NO.1)
38731BRING, O (FOR PLUNGER NO.2)
38736SPRING, CHECK VALVE
38737PLUG, CHECK VALVE
38739SPRING, PLUNGER NEUTRAL INDICATING BALL
38739ABALL, PLUNGER NEUTRAL INDICATING
38745SEAL, OIL (FOR PUMP CONTROL VALVE PLUNGER)
38759COVER, SEAL (FOR OIL PUMP BODY)
38761RING, O (FOR OIL PUMP INNER BUSH)
38762RING, O (FOR OIL PUMP INNER BUSH)
38767RING, O (FOR CHECK VALVE SPRING)
9011010008
main90110-10008
9161161025
main91611-61025
9161161030
main91611-61030
9161161055
main91611-61055
9161161060
main91611-61060
9331116012
main93311-16012
9331116016
main93311-16016
9331914010
main93319-14010
9338116008
main93381-16008
9671124016
main96711-24016
9671124021
main96711-24021
38 parts on this diagram · 1 diagram in section