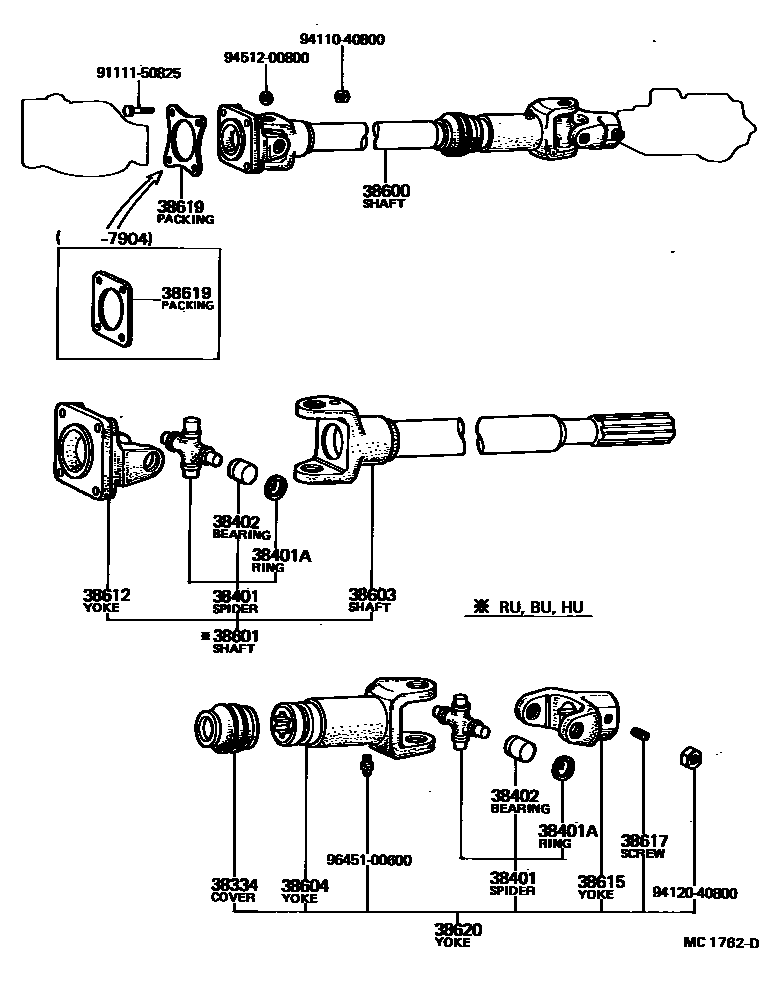
DRIVE SHAFT

38334COVER, COUPLING SLEEVE REAR, DUST
38401SPIDER, UNIVERSAL JOINT (FOR OIL PUMP)
38401ARING, UNIVERSAL JOINT NEEDLE
T=1.20
T=1.25
T=1.30
38402BEARING, UNIVERSAL JOINT SPIDER
38600SHAFT ASSY, OIL PUMP DRIVE
38601SHAFT SUB-ASSY, PUMP DRIVE, FRONT
38603SHAFT SUB-ASSY, FRONT DRIVE
38604YOKE SUB-ASSY, FRONT DRIVE
38612YOKE, UNIVERSAL JOINT FLANGE
38615YOKE, PUMP DRIVE SHAFT
38617SCREW, UNIVERSAL JOINT YOKE, SET
38619PACKING, UNIVERSAL JOINT YOKE
T=0.8
T=0.8
38620YOKE ASSY, PUMP DRIVE
9111150825
main91111-50825
9411040800
main94110-40800
9412040800
main94120-40800
9451200800
main94512-00800
9645100600
main96451-00600
18 parts on this diagram · 2 diagrams in section