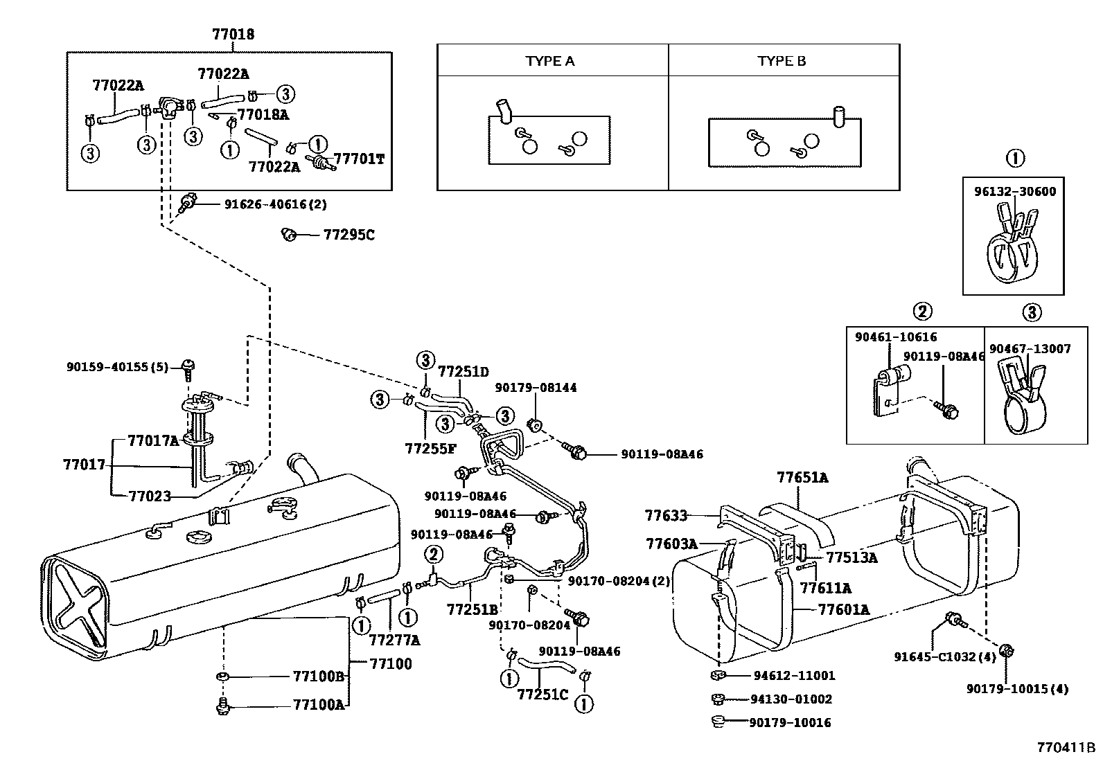
FUEL TANK & TUBE

77017TUBE SUB-ASSY, FUEL AND EVAPORATION VENT
77017AGASKET, FUEL TANK VENT
77018AORIFICE, FUEL VAPOUR
77022AHOSE, FUEL(FOR FUEL EVAPORATIVE SEPARATOR)
sub95338-06030
sub95338-06030
sub95338-06030
sub95337-08020
77023FILTER SUB-ASSY, FUEL SUCTION TUBE
77100TANK ASSY, FUEL
60L
sub77001-25311
sub77001-25312
60L
main77001-26410iYY101..IV3;LY10#..T2..TB;LY10#..T1,T3,TW2;LY121,212,YY121..TB;LY10#..T2..ATM..IV3;YY101..(T1,T3,TW2)..CBU;LY11#,13#,YY131..TW1,TW2;LY122,20#,211,YY201,211..(T2,T3,T199505-200107
sub77001-26420
77100APLUG(FOR FUEL TANK)
main90105-12116iLY201,21#,YY201,211..(T1,T2,T3,T4)..(CBR,DSL);LY10#,11#,12#,13#,15#,16#,202,YY101,121,131..CBR,DSL199505
77100BGASKET(FOR FUEL TANK)
main90430-12245iLY201,21#,YY201,211..(T1,T2,T3,T4)..(CBR,DSL);LY10#,11#,12#,13#,15#,16#,202,YY101,121,131..CBR,DSL199505
77251BTUBE, FUEL MAIN
77277AHOSE, FUEL, NO.1(FOR RETURN TUBE, NO.1)
77295CGROMMET, FUEL TUBE
77513ARETAINER, TANK BRACKET
77601ABAND SUB-ASSY, FUEL TANK, NO.1
main77601-26060iLY201,21#,YY201,211..(T1,T2,T3,T4)..(CBR,DSL);LY10#,11#,12#,13#,15#,16#,202,YY101,121,131..CBR,DSL199505
77603ABAND SUB-ASSY, FUEL TANK, NO.2
main77603-26030iLY201,21#,YY201,211..(T1,T2,T3,T4)..(CBR,DSL);LY10#,11#,12#,13#,15#,16#,202,YY101,121,131..CBR,DSL199505
77611APIN (FOR FUEL TANK BAND)
main77653-25010iLY201,21#,YY201,211..(T1,T2,T3,T4)..(CBR,DSL);LY10#,11#,12#,13#,15#,16#,202,YY101,121,131..CBR,DSL199505
77633STAY, FUEL TANK
main77501-25091iLY21#,YY211..(T2,T3,T4)..(CBR,DSL);LY10#,11#,12#,13#,15#,16#,YY101,121,131..CBR,DSL199505
77651ACUSHION, FUEL TANK, NO.1
main77651-26040iLY201,21#,YY201,211..(T1,T2,T3,T4)..(CBR,DSL);LY10#,11#,12#,13#,15#,16#,202,YY101,121,131..CBR,DSL199505
77701TVALVE, CHECK (FOR MAIN FUEL TANK)
9011908A46
main90119-08A46
9015940155
main90159-40155
9017008204
main90170-08204
9017908144
main90179-08144
9017910015
main90179-10015
9017910016
main90179-10016
9046110616
main90461-10616
9046713007
main90467-13007
9162640616
main91626-40616
91645C1032
main91645-C1032
9413001002
main94130-01002
9461211001
main94612-11001
9613230600
main96132-30600
35 parts on this diagram · 10 diagrams in section