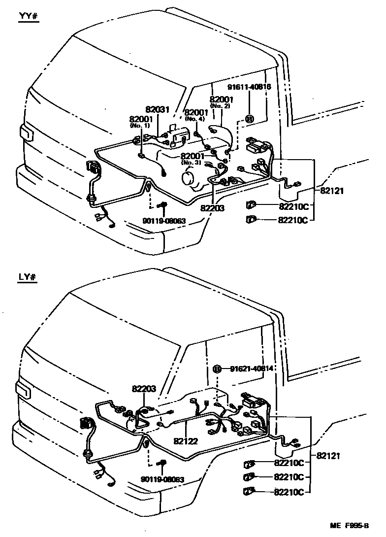
WIRING & CLAMP

82001CABLE, BOND, NO.1
NO.2,L=460
NO.4,L=300
NO.3,L=170
NO.1,L=170
82031WIRE SUB-ASSY, IGNITION COIL
82121WIRE, ENGINE
W/FUEL HEATER
ALTERNATOR:12V 45A
ALTERNATOR:12V 45A,W/*FH
ALTERNATOR:12V 55A
W/FUEL HEATER
ALTERNATOR:12V 45A
ALTERNATOR:12V 45A,W/*FH
ALTERNATOR:12V 55A
W/FUEL HEATER
ALTERNATOR:12V 45A
ALTERNATOR:12V 45A,W/*FH
ALTERNATOR:12V 55A
82203WIRE SUB-ASSY, ALTERNATOR
ALTERNATOR:12V 45A
ALTERNATOR:12V 55A
82210CFUSIBLE LINK
9011908063
main90119-08063
9161140816
main91611-40816
9162140814
main91621-40814
9 parts on this diagram · 4 diagrams in section