E
EPC Data

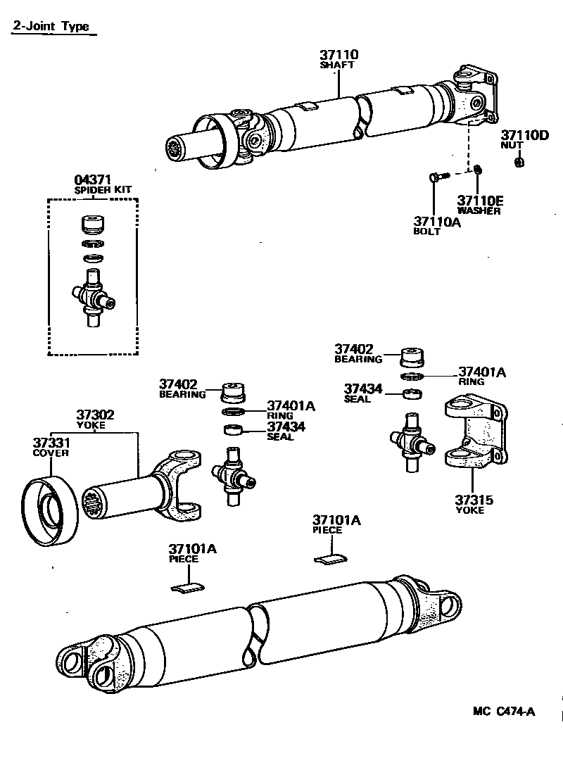
PROPELLER SHAFT & UNIVERSAL JOINT

Parts diagram
04371SPIDER KIT, UNIVERSAL JOINT(FOR PROPELLER SHAFT)
main04371-25010i198508-198708
main04371-35030i198508-198708
main04371-36030i198508-198708
37101APIECE, BALANCE, NO.1 (FOR PROPELLER SHAFT)
main90937-01132×6i198508-198708
main90937-01136×6i198508-198608
main90937-01147×6i198508-198708
main90937-01148×6i198508-198708
main90937-01149×6i198508-198708
main90937-01150×6i198508-198708
main90937-01151×6i198508-198708
main90937-01152×6i198508-198708
main90937-01153×6i198508-198608
main90937-01154×6i198508-198608
main90937-01155×6i198508-198608
main90937-01156×6i198508-198608
main90937-01157×6i198508-198608
main90937-01158×6i198508-198608
main90937-01184i198508-198708
main90937-01191i198508-198708
main90937-01192i198508-198708
main90937-01193i198508-198708
main90937-01194i198508-198708
main90937-01198i198508-198608
main90937-01199i198508-198608
main90937-01200i198508-198608
37110SHAFT ASSY, PROPELLER
main37110-25310i198508-198708
main37110-25320i198508-198708
main37110-25330i198508-198708
main37110-25340i198508-198708
main37110-25350i198508-198708
main37110-25360i198508-198708
main37110-25370i198508-198708
main37110-26280i198508-198708
main37110-26290i198508-198708
37110ABOLT (FOR PROPELLER SHAFT)
main90105-10085×4i198508-198708
main90105-11013×4i198508-198708
37110DNUT (FOR PROPELLER SHAFT)
main90179-10059×8i198508-198708
main90179-11005×8i198508-198708
37110EWASHER (FOR PROPELLER SHAFT)
main90201-11013×8i198508-198708
main90204-10002×8i198508-198708
37302YOKE SUB-ASSY, UNIVERSAL JOINT SLEEVE
main37302-35010i198508-198708
main37302-36020i198508-198708
37315YOKE, UNIVERSAL JOINT FLANGE
main37315-35040×2i198508-198708
main37315-35050i198508-198708
main37315-36020×2i198508-198708
37331COVER, SLIDING SHAFT DUST
main37305-35020i198508-198708
main37305-36020i198508-198708
main37331-30010i198508-198708
37401ARING, HOLE SNAP (FOR SPIDER BEARING)
main90520-26233×8i198508-198708
main90520-26234×8i198508-198708
main90520-26235×8i198508-198708
main90520-29024×8i198508-198708
main90520-29025×8i198508-198708
main90520-29026×8i198508-198708
main90520-29027×8i198508-198708
main90521-29070×8i198508-198708
main90521-29071×8i198508-198708
main90521-29072×8i198508-198708
37402BEARING SUB-ASSY, UNIVERSAL JOINT SPIDER
main37402-25020×8i198508-198708
main37402-30010×8i198508-198708
main37402-30020×8i198508-198708
RED PAINTED
main37402-36080×8i198508-198708
37434SEAL, UNIVERSAL JOINT SPIDER BEARING
main37434-25010×8i198508-198708

12 parts on this diagram · 3 diagrams in section

PROPELLER SHAFT & UNIVERSAL JOINT — Toyota Parts Diagram with OEM Numbers & Prices | EPC Data