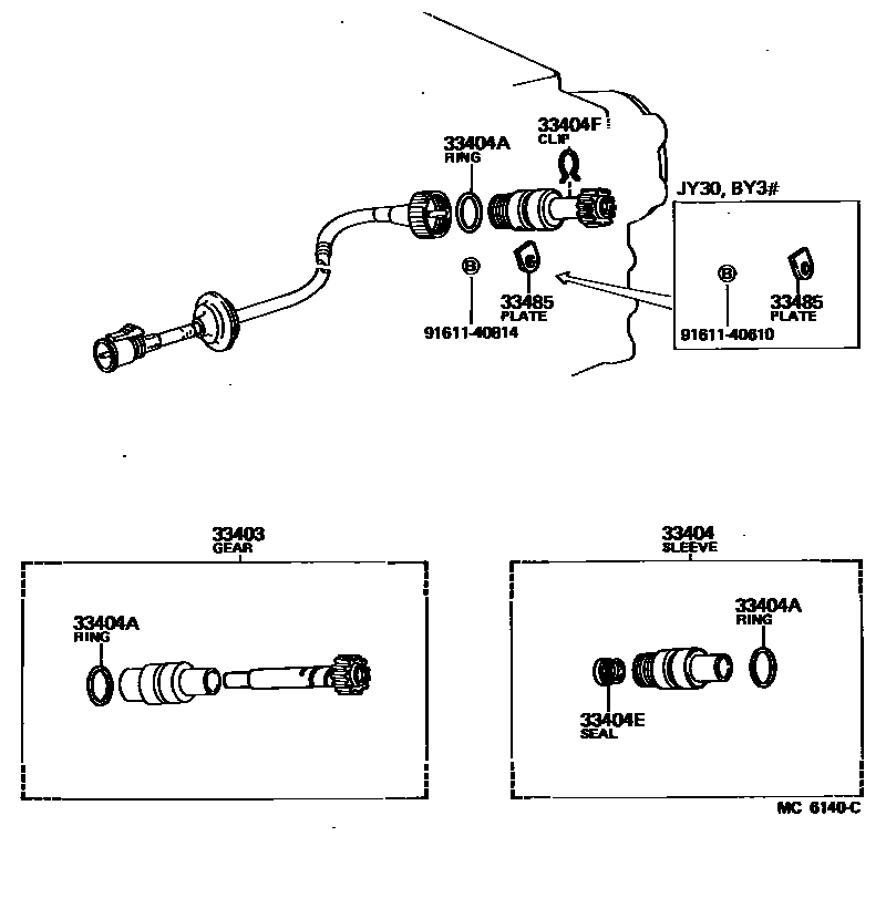
SPEEDOMETER DRIVEN GEAR (MTM)

33403GEAR SUB-ASSY, SPEEDOMETER DRIVEN (MTM)
N=19
N=18
N=18
N=22
33404SLEEVE SUB-ASSY, SPEEDOMETER SHAFT (MTM)
33404ARING, O (FOR MTM SPEEDOMETER SHAFT SLEEVE)
33404ESEAL, OIL (FOR MTM SPEEDOMETER SHAFT SLEEVE)
33404FCLIP (FOR MTM SPEEDOMETER SHAFT SLEEVE)
33485PLATE, SPEEDOMETER SLEEVE LOCK (MTM)
9161140610
main91611-40610
9161140814
main91611-40814
8 parts on this diagram · 1 diagram in section