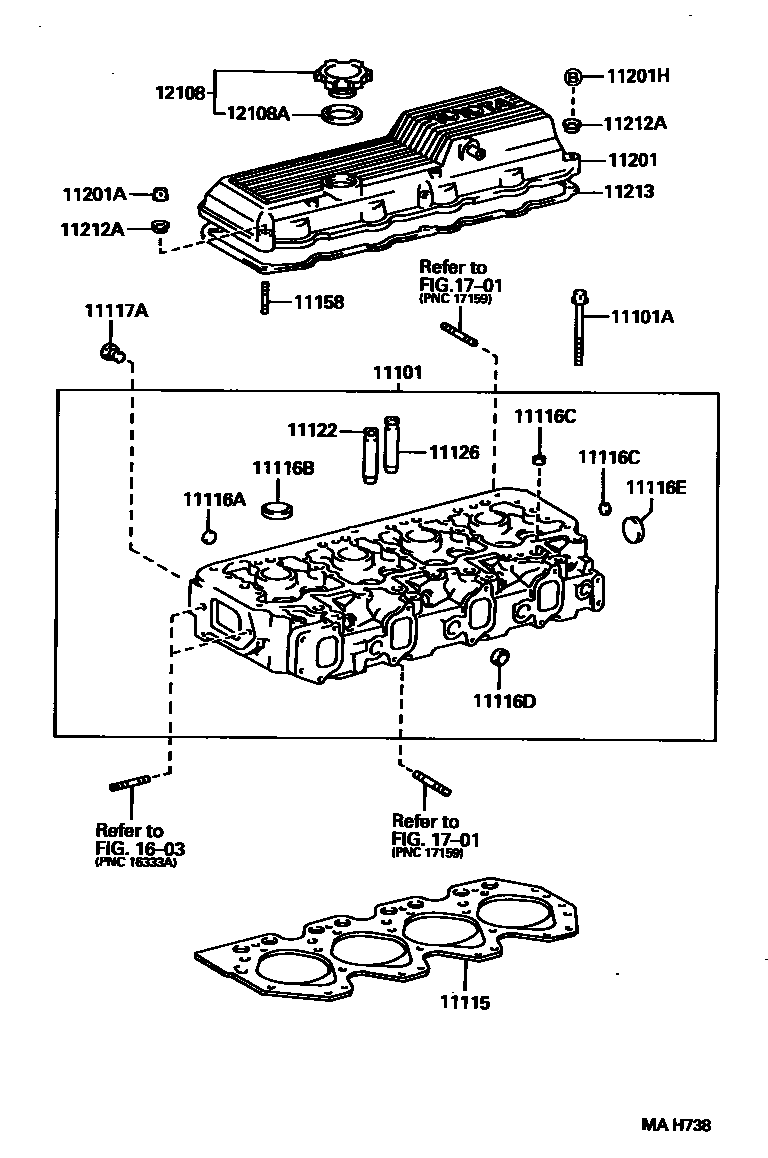
CYLINDER HEAD

11116BPLUG, TIGHT, NO.2
11116CPLUG, TIGHT, NO.3
11116DPLUG, TIGHT, NO.4
11116EPLUG, TIGHT, NO.5
11117APLUG, W/HEAD TAPER SCREW, NO.1
11158BOLT, STUD(FOR HEAD TO CYLINDER HEAD COVER)
11201ANUT, CAP(FOR CYLINDER HEAD COVER)
11212COVER, CYLINDER HEAD, NO.2
11212ACUSHION, CYLINDER HEAD COVER
11213GASKET, CYLINDER HEAD COVER
12108CAP SUB-ASSY, OIL FILLER
12108AGASKET(FOR OIL FILLER CAP)
1603
1701
22 parts on this diagram · 3 diagrams in section