E
EPC Data

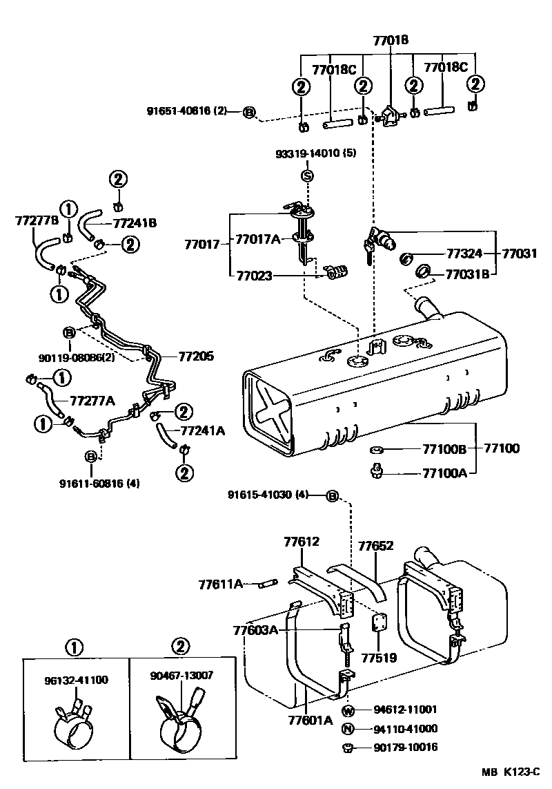
FUEL TANK & TUBE

Parts diagram
77017TUBE SUB-ASSY, FUEL AND EVAPORATION VENT
main77017-26120i198508-198708
main77017-26121i198708-199505
77017AGASKET, FUEL TANK VENT
main77169-14020i198508-199505
77018VALVE SUB-ASSY, FUEL VAPOUR SEPARATE
main77018-25110i198508-199505
77018CHOSE, FUEL NO.1 (FOR FUEL LIQUID VAPOUR SEPARATE VALVE)
main95332-08020i198508-198702
main95333-08020i198702-198804
main95333-08020i198804-199505
77023FILTER SUB-ASSY, FUEL SUCTION TUBE
main77023-32010i198508-199505
77031CAP ASSY, FUEL TANK
main69058-89102i198508-199505
77031BGASKET (FOR FUEL TANK CAP)
main77316-12031i198508-198804
77100TANK ASSY, FUEL
main77001-26340i198508-199505
main77001-26440i198711-199505
77100APLUG(FOR FUEL TANK)
main90105-12116i198508-199505
77100BGASKET(FOR FUEL TANK)
main90430-12245i198508-199505
77205TUBE SUB-ASSY, FUEL MAIN
main77205-26080i198508-199505
main77205-26110i198711-199505
77241AHOSE, FUEL, NO.1 (FOR MAIN TUBE, NO.1)
main95332-08020i198508-198702
main95333-08020i198702-199505
main95333-08020i198711-198804
77241BHOSE, FUEL, NO.2 (FOR MAIN TUBE, NO.1)
main95332-08020i198508-198702
main95333-08020i198702-198804
main95333-08020i198804-199505
77277AHOSE, FUEL, NO.1(FOR RETURN TUBE, NO.1)
main90447-12018i198508-198910
main90447-12109i198808-199505
77277BHOSE, FUEL, NO.2(FOR RETURN TUBE, NO.1)
main95332-06020i198508-198702
main95333-06020i198702-198804
main95333-06020i198804-199505
77324SPRING, FUEL TANK CAP
main77324-12011i198508-198804
77519SPACER, FUEL TANK BRACKET
main77519-26010i198508-199505
77601ABAND SUB-ASSY, FUEL TANK, NO.1
main77601-26050i198508-198708
main77601-26060i198708-199505
77603ABAND SUB-ASSY, FUEL TANK, NO.2
main77603-26030i198708-199505
main77603-28010i198508-198708
77611APIN (FOR FUEL TANK BAND)
main77629-25010i198508-198708
main77653-25010i198708-199505
77612BRACKET SUB-ASSY, FUEL TANK
main77501-26030i198508-198511
main77501-26031i198511-198708
main77501-26040i198708-199505
77652CUSHION, FUEL TANK, NO.1
main77651-26040i198508-199505
9011908086
9017910016
9046713007
9161160816
9161541030
9165140616
9331914010
9411041000
9461211001
9613241100

32 parts on this diagram · 1 diagram in section

FUEL TANK & TUBE — Toyota Parts Diagram with OEM Numbers & Prices | EPC Data