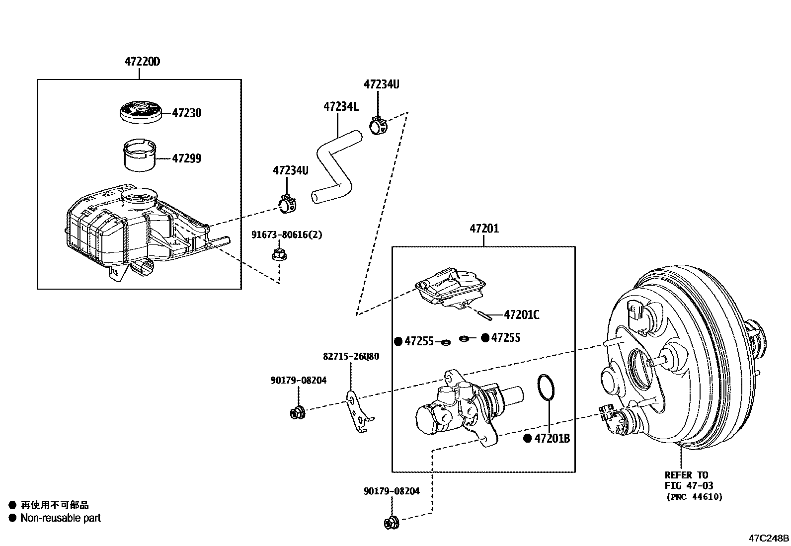
BRAKE MASTER CYLINDER

4703BRAKE BOOSTER & VACUUM TUBE
47201CYLINDER SUB-ASSY, BRAKE MASTER
47201BRING, O(FOR BRAKE MASTER CYLINDER)
47201CRING PIN, BRAKE MASTER CYLINDER
47220DRESERVOIR ASSY, BRAKE MASTER CYLINDER
47230CAP ASSY, BRAKE MASTER CYLINDER RESERVOIR FILLER
47234LHOSE, RESERVOIR, NO.1
47234UCLIP(FOR RESERVOIR HOSE NO.1)
47255GROMMET, MASTER CYLINDER RESERVOIR
47299STRAINER, BRAKE MASTER CYLINDER RESERVOIR
8271526Q80BRACKET,WIRING HARNESS CLAMP
main82715-26Q80
9017908204
main90179-08204
9167380616
main91673-80616
13 parts on this diagram · 1 diagram in section