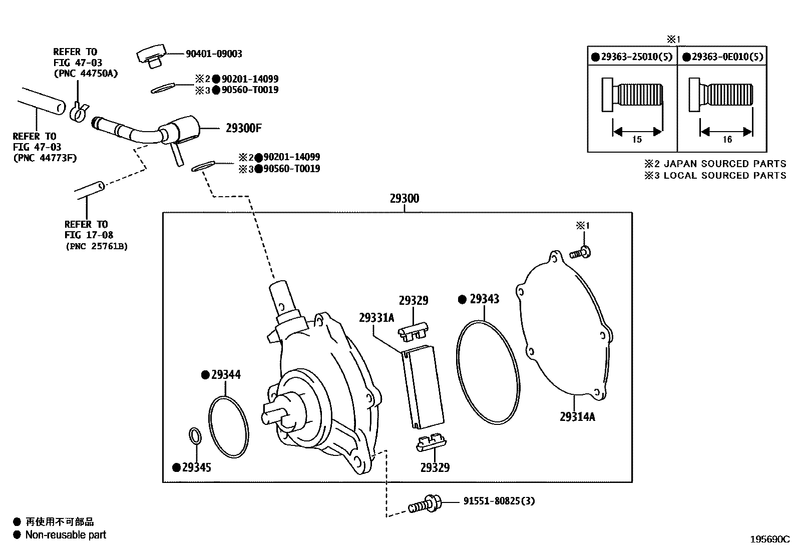
VACUUM PUMP

1708VACUUM PIPING
29300PUMP ASSY, VACUUM
29300FUNION
29314ACOVER, END
29329CAP, VACUUM PUMP VANE
29331AVANE, VACUUM PUMP
29343RING, O VACUUM PUMP, NO.1
29344RING, O VACUUM PUMP, NO.2
29345RING, O VACUUM PUMP, NO.3
4703BRAKE BOOSTER & VACUUM TUBE
293630E010SCREW, HOLLOW VACUUM PUMP
main29363-0E010
2936325010SCREW, HOLLOW VACUUM PUMP
main29363-25010
9020114099
main90201-14099
9040109003
main90401-09003
90560T0019
main90560-T0019
9155180825
main91551-80825
16 parts on this diagram · 1 diagram in section