E
EPC Data

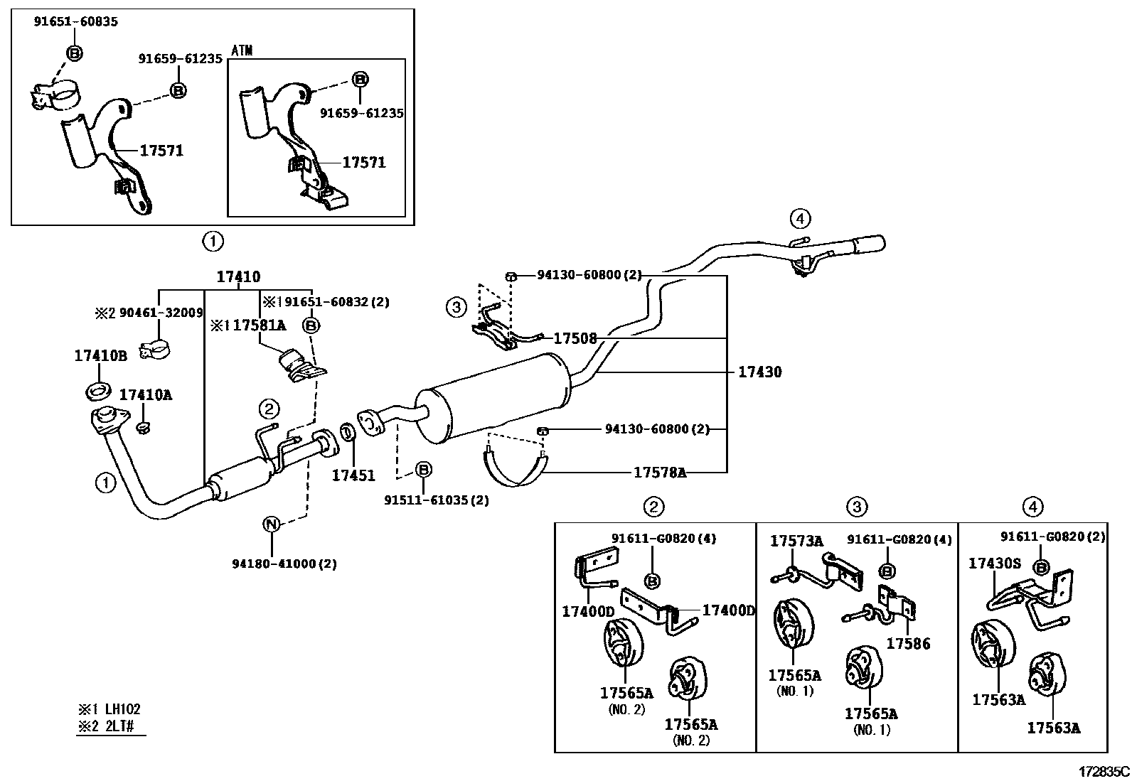
EXHAUST PIPE

Parts diagram
17400CONVERTER ASSY, W/CATALYST
main18450-15060i198908-199308
main18450-73030i198908-199205
main18450-75010i198908-199308
main18450-75011i199308-199808
main18450-75020i199205-199508
main18450-75050i199308-199808
main18450-75120i199808-199907
main18450-75200i199808-199907
17400DBRACKET, CATALYTIC CONVERTER SUPPORT
main17587-67010i199907-200408
main17587-75010i198908-199111
main17587-75011i199907-200501
main17588-67010i199907-200408
main17588-75011i199907-200501
main17588-75020i199907-200408
17410PIPE ASSY, EXHAUST, FRONT
main17401-54070i198908-199103
main17401-54071i199103-199209
main17401-54072i199209-199802
main17401-54080i198908-199308
main17401-54090i198908-199103
main17401-54091i199103-199203
main17401-54092i199203-199209
main17401-54093i199209-199603
main17401-54094i199603-199808
main17401-54100i198908-199103
main17401-54101i199103-199201
main17401-54102i199201-199209
main17401-54103i199209-199308
main17401-54130i198908-199103
main17401-54131i199103-199209
main17401-54132i199209-199308
main17401-54300i199907-199912
main17401-54301i199912-200208
main17401-54340i200208-200408
main17401-67040i199308-199508
main17401-67050i199308-199508
main17401-67060i199508-199907
main17401-67070i199508-199907
main17401-67110i199907-200408
main17401-67120i199907-200408
main17410-5B020i198908-199103
main17410-5B021i199103-199209
main17410-5B022i199209-199601
main17410-5B023i199802-199808
main17410-75010i198908-199008
main17410-75011i199008-199808
main17410-75050i198908-199008
main17410-75051i199008-199508
main17410-75070i198908-199008
main17410-75071i199008-199808
main17410-75210i199808-199907
main17410-75220i199907-200308
main17410-75430i200308-200501
17410ANUT, EXHAUST PIPE SET STUD BOLT
main90179-10070×3i199907-200408
17410BGASKET, EXHAUST PIPE
main17451-67020i199907-200408
main90917-06038×2i198908-199505
main90917-06042i198908-199505
main90917-06064×2i199907-200308
main90917-06066i199506-199907
main90917-06067i199308-199907
17430PIPE ASSY, EXHAUST, TAIL
main17405-67080i199907-200408
main17405-67110i200101
main17430-5B250i198908-199808
main17430-5B260i198908-199808
main17430-5B270i198908-199808
main17430-5B280i198908-199808
main17430-5B290i198908-199808
main17430-5B300i198908-199308
main17430-5B310i198908-199308
main17430-5B320i198908-199308
main17430-5B330i198908-199308
main17430-5D090i199808-199907
main17430-5D091i199912-200208
main17430-5D140i199907-199912
main17430-5D141i199912-200208
main17430-5D150i199808-199907
main17430-5D151i199912-200208
main17430-5D160i199907-199912
main17430-5D161i199912-200208
main17430-5D162i200208-200408
main17430-5D170i199808-199907
main17430-5D171i199912-200208
main17430-5D172i200208-200408
main17430-5D210i199907-200208
main17430-5D280i200208-200408
main17430-5D290i200208-200408
main17430-5D300i200208-200308
main17430-5D301i200308-200408
main17430-5D310i200208-200308
main17430-5D311i200308-200408
main17430-67030i199308-199907
main17430-75010i198908-199008
main17430-75011i199008-199808
main17430-75020i198908-199008
main17430-75021i199008-199808
main17430-75030i198908-199008
main17430-75031i199008-199808
main17430-75040i198908-199008
main17430-75041i199008-199808
main17430-75100i198908-199008
main17430-75101i199008-199808
main17430-75260i199508-199808
main17430-75270i199508-199808
main17430-75380i199808-199907
main17430-75390i199907-200208
main17430-75400i199808-199907
main17430-75420i199907-200308
main17430-75430i199808-199907
main17430-75440i199808-199907
main17430-75450i199808-199907
main17430-75460i199907-200308
main17430-75570i199907-200101
main17430-75650i200308-200408
main17430-75660i200308-200408
main17430-75670i200308-200501
main17430-75680i200308-200408
main17430-75690i200308-200408
main17430-75700i200308-200501
17430SBRACKET, EXHAUST TAILPIPE (FOR REAR)
main17574-67020i199907-200408
main17574-75010i198908-199907
main17574-75020i198908-199907
17451GASKET, EXHAUST PIPE
main17451-22070i200308-200501
main17451-54010i199907-200408
main17451-67010i199508-199907
main90917-06012i198908-198909
main90917-06023i198908-198909
main90917-06041i198909-199907
main90917-06045i199104-199907
main90917-06047i198909-199104
main90917-06057i199907-200408
main90917-06059i199308-199508
17508SUPPORT SUB-ASSY, EXHAUST PIPE, NO.3
main17508-54060i200308-200408
main17508-54070i200208-200408
main17508-54080i200208-200408
main17508-54090i200208-200408
main17508-54100i200208-200308
main17508-67010i199308-199508
main17508-67020i199508-199907
main17508-67030i199907-200408
main17508-75010i199808-199907
main17508-75020i199008-199808
main17508-75030i199008-199808
main17508-75040i199808-199907
main17508-75060i200308-200408
main17508-75070i200308-200501
main17508-75080i200308-200408
main17508-75090i200308-200408
17563ASUPPORT, EXHAUST PIPE, NO.3
main17563-35020×2i198908-199106
main17565-15140×2i199308-199907
main17565-16080×2i198908-199308
main17565-63020×2i199907-200501
17565ASUPPORT, EXHAUST PIPE, NO.4
main17565-15010×4i198908-199107
main17565-15140×3i199408-199508
main17565-16080×2i198908-199907
main17565-63020×2i199907-200308
main17565-74280×2i200208-200501
17571BRACKET, EXHAUST PIPE SUPPORT, NO.1
main17506-54160i198908-199209
main17506-54161i199308-199403
main17506-54162i199403-199808
main17506-54170i198908-199308
main17506-67020i199308-199508
main17506-67030i199308-199408
main17506-67031i199408-199508
main17571-54370i198908-199209
main17571-54371i199209-199308
main17571-54540i199912-200408
main17571-54550i199912-200408
main17571-75010i199907-200308
17573ABRACKET, EXHAUST PIPE SUPPORT, NO.3
main17573-75010i199907-200404
main17573-75011i200405-200408
main17573-75020i198908-199907
main17573-75021i200405-200501
main17573-75030i199907-200404
main17573-75031i200405-200408
main17573-75040i198908-199907
main17573-75041i200405-200408
17578ACLAMP, MUFFLER
main17578-54050i200208-200501
main17578-67010i199508-199907
main17578-67020i199907-200408
main17578-75030i199907-200308
main17578-75040i199808-199907
17581ADAMPER, EXHAUST PIPE
main17581-54050i199601-199802
main17581-54070i199603-199808
main17581-73010i199508-199512
17586BRACKET, HEAT INSULATOR, NO.1
main17586-67010i199907-200408
main17586-75010i198908-199907
main17586-75020i199907-200408
9046132009
9151161035
91611G0820
9165160832
9165160835
9165961235
9413060800
9418041000

24 parts on this diagram · 12 diagrams in section

EXHAUST PIPE — Toyota Parts Diagram with OEM Numbers & Prices | EPC Data