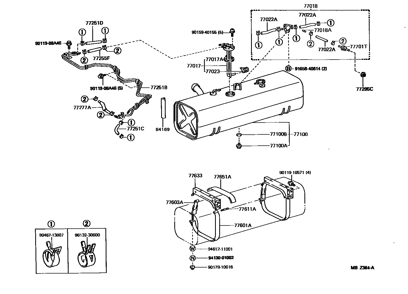
FUEL TANK & TUBE

64169PROTECTOR, FUEL INLET
77017TUBE SUB-ASSY, FUEL AND EVAPORATION VENT
77017AGASKET, FUEL TANK VENT
77018AORIFICE, FUEL VAPOUR
77023FILTER SUB-ASSY, FUEL SUCTION TUBE
77100APLUG(FOR FUEL TANK)
77100BGASKET(FOR FUEL TANK)
77251CHOSE, FUEL, NO.1(FOR FUEL MAIN TUBE)
77277AHOSE, FUEL, NO.1(FOR RETURN TUBE, NO.1)
77295CGROMMET, FUEL TUBE
77601ABAND SUB-ASSY, FUEL TANK, NO.1
77603ABAND SUB-ASSY, FUEL TANK, NO.2
77611APIN (FOR FUEL TANK BAND)
77633STAY, FUEL TANK
77651ACUSHION, FUEL TANK, NO.1
77701TVALVE, CHECK (FOR MAIN FUEL TANK)
9011908A46
main90119-08A46
9011910571
main90119-10571
9015940155
main90159-40155
9017910016
main90179-10016
9046713007
main90467-13007
9165640614
main91656-40614
9413001002
main94130-01002
9461211001
main94612-11001
9613230600
main96132-30600
31 parts on this diagram · 2 diagrams in section