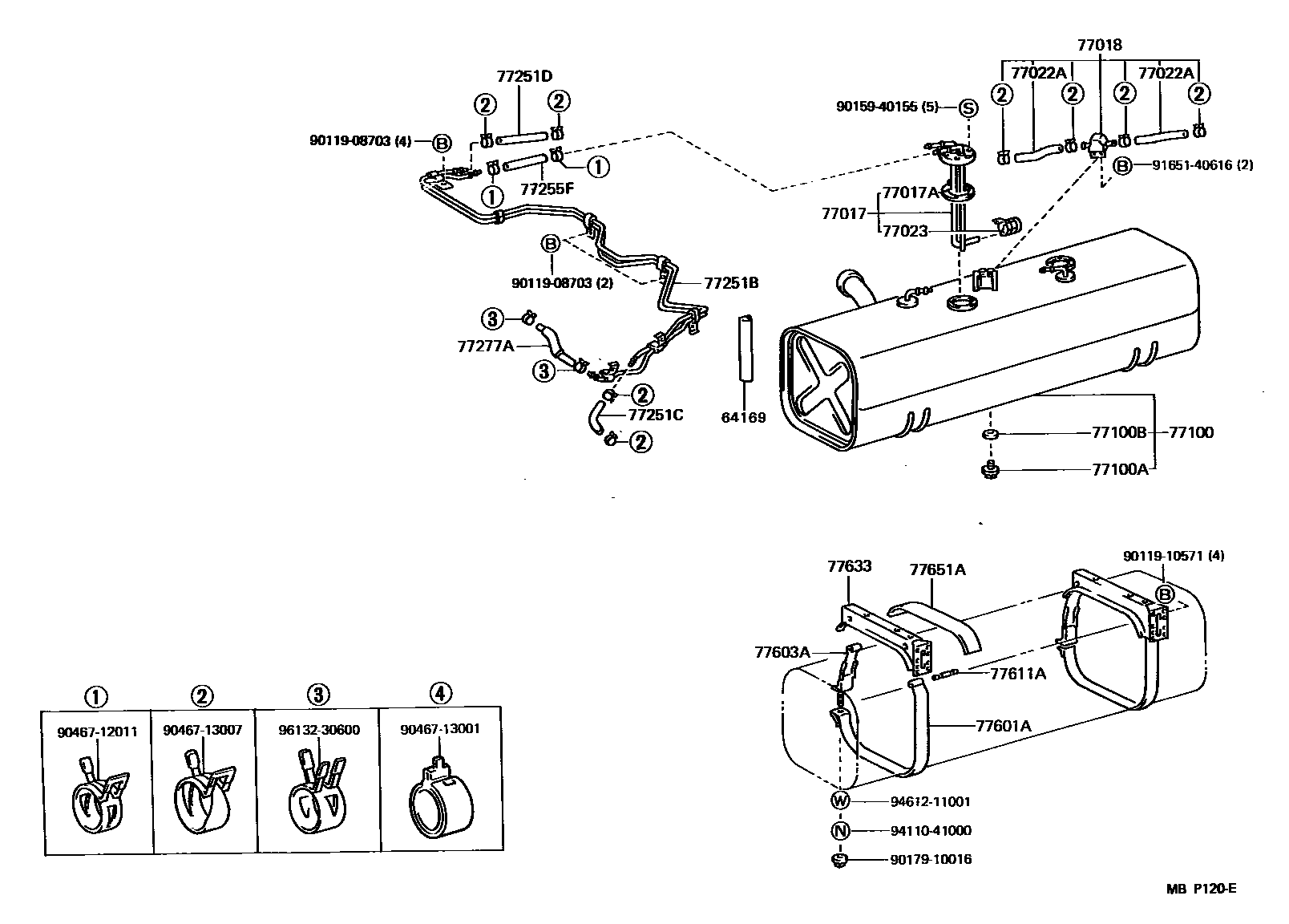
FUEL TANK & TUBE

64169PROTECTOR, FUEL INLET
77017TUBE SUB-ASSY, FUEL AND EVAPORATION VENT
77017AGASKET, FUEL TANK VENT
77018VALVE SUB-ASSY, FUEL VAPOUR SEPARATE
77023FILTER SUB-ASSY, FUEL SUCTION TUBE
77100APLUG(FOR FUEL TANK)
77100BGASKET(FOR FUEL TANK)
77251CHOSE, FUEL, NO.1(FOR FUEL MAIN TUBE)
77277AHOSE, FUEL, NO.1(FOR RETURN TUBE, NO.1)
77601ABAND SUB-ASSY, FUEL TANK, NO.1
77603ABAND SUB-ASSY, FUEL TANK, NO.2
77611APIN (FOR FUEL TANK BAND)
77651ACUSHION, FUEL TANK, NO.1
9011908703
main90119-08703
9011910571
main90119-10571
9015940155
main90159-40155
9017910016
main90179-10016
9046712011
main90467-12011
9046713001
main90467-13001
9046713007
main90467-13007
9165140616
main91651-40616
9411041000
main94110-41000
9461211001
main94612-11001
9613230600
main96132-30600
30 parts on this diagram · 3 diagrams in section