E
EPC Data

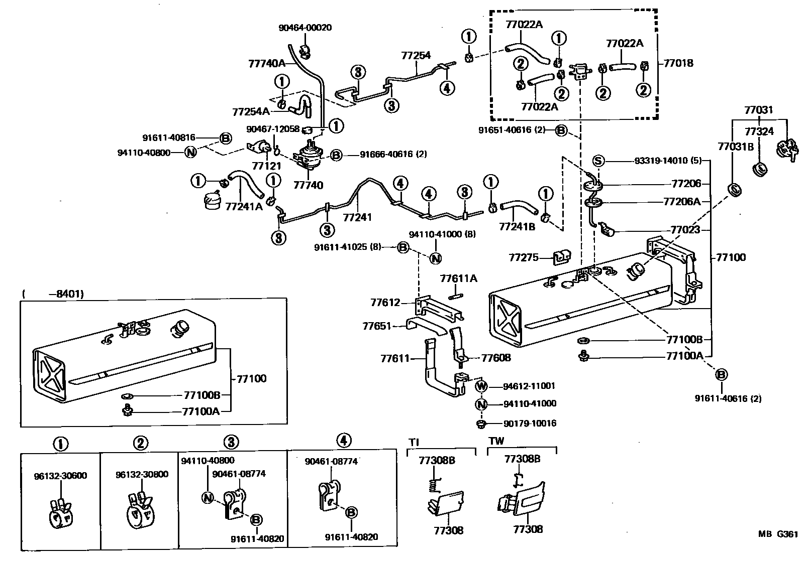
FUEL TANK & TUBE

Parts diagram
77018VALVE SUB-ASSY, FUEL VAPOUR SEPARATE
main77018-26031i198211-198401
main77018-26032i198401-198507
main77018-26040i198211-198401
main77018-26120i198401-198507
77022AHOSE, FUEL(FOR FUEL EVAPORATIVE SEPARATOR)
main95332-06020i198211-198401
main95332-06030i198401-198507
main95332-08020i198211-198507
main95332-08030i198211-198401
main95332-08030i198401-198507
77023FILTER SUB-ASSY, FUEL SUCTION TUBE
main77023-12050i198401-198507
main77023-22040i198401-198507
77031CAP ASSY, FUEL TANK
main69058-89102i198211-198507
main69058-95400i198211-198507
77031BGASKET (FOR FUEL TANK CAP)
main77316-12031i198211-198507
77100TANK ASSY, FUEL
main77001-26091i198211-198401
main77001-26092i198401-198507
main77001-26120i198211-198401
main77001-26121i198401-198507
main77001-26140i198211-198401
main77001-26141i198401-198507
main77001-26270i198401-198507
main77001-28020i198211-198401
77100APLUG(FOR FUEL TANK)
main90105-12018i198211-198507
77100BGASKET(FOR FUEL TANK)
main90430-12245i198211-198507
77121PROTECTOR, FUEL TUBE
main77276-26020i198211-198507
77206TUBE SUB-ASSY, FUEL TANK SUCTION
main77017-26090i198401-198507
main77017-26100i198401-198507
77206AGASKET (FOR FUEL TANK SUCTION TUBE)
main77169-14020i198401-198507
77241TUBE, FUEL MAIN, NO.1
main77251-26062i198211-198401
main77251-26063i198401-198507
main77251-26102i198211-198401
main77251-26260i198401-198507
77241AHOSE, FUEL, NO.1 (FOR MAIN TUBE, NO.1)
main95332-06020i198211-198507
main95332-08040i198211-198507
77241BHOSE, FUEL, NO.2 (FOR MAIN TUBE, NO.1)
main95332-06020i198401-198507
main95332-06020i198211-198401
main95332-08020i198401-198507
main95332-08030i198211-198401
77254TUBE, FUEL EMISSION, NO.1
main77262-26110i198211-198401
main77262-26111i198401-198507
77254AHOSE, FUEL, NO.1 (FOR EMISSION TUBE, NO.1)
main77209-26010i198211-198507
77275PROTECTOR, FUEL EVAPORATIVE SEPARATOR
main77197-25010i198211-198507
77308COVER SUB-ASSY, FUEL INLET BOX
main64016-95A00i198211-198507
main65640-95600i198211-198507
77308BSPRING, TORSION(FOR FUEL INLET BOX COVER)
main65644-91336i198211-198507
main90508-23186i198211-198507
77324SPRING, FUEL TANK CAP
main77324-12011i198211-198507
77608BAND SUB-ASSY, FUEL TANK, NO.2
main77603-25010i198310-198401
main77603-26011i198211-198310
main77603-28010i198401-198507
77611BAND, FUEL TANK
main77601-25090i198211-198401
main77601-26040i198401-198507
77611APIN (FOR FUEL TANK BAND)
main77629-25010i198211-198507
77612BRACKET SUB-ASSY, FUEL TANK
main77501-28011i198211-198507
77651PACKING, FUEL TANK BRACKET
main77651-25050i198211-198401
main77651-26040i198401-198507
77740CANISTER ASSY, CHARCOAL
main77740-26020i198211-198507
77740AHOSE, FUEL, NO.1(FOR CHARCOAL CANISTER)
main95411-19960i198211-198310
main95411-19995i198310-198507
9017910016
9046108774
9046400020
9046712058
9161140616
9161140816
9161140820
9161141025
9165140616
9166640616
9331914010
9411040800
9411041000
9461211001
9613230600
9613230800

43 parts on this diagram · 2 diagrams in section

FUEL TANK & TUBE — Toyota Parts Diagram with OEM Numbers & Prices | EPC Data