E
EPC Data

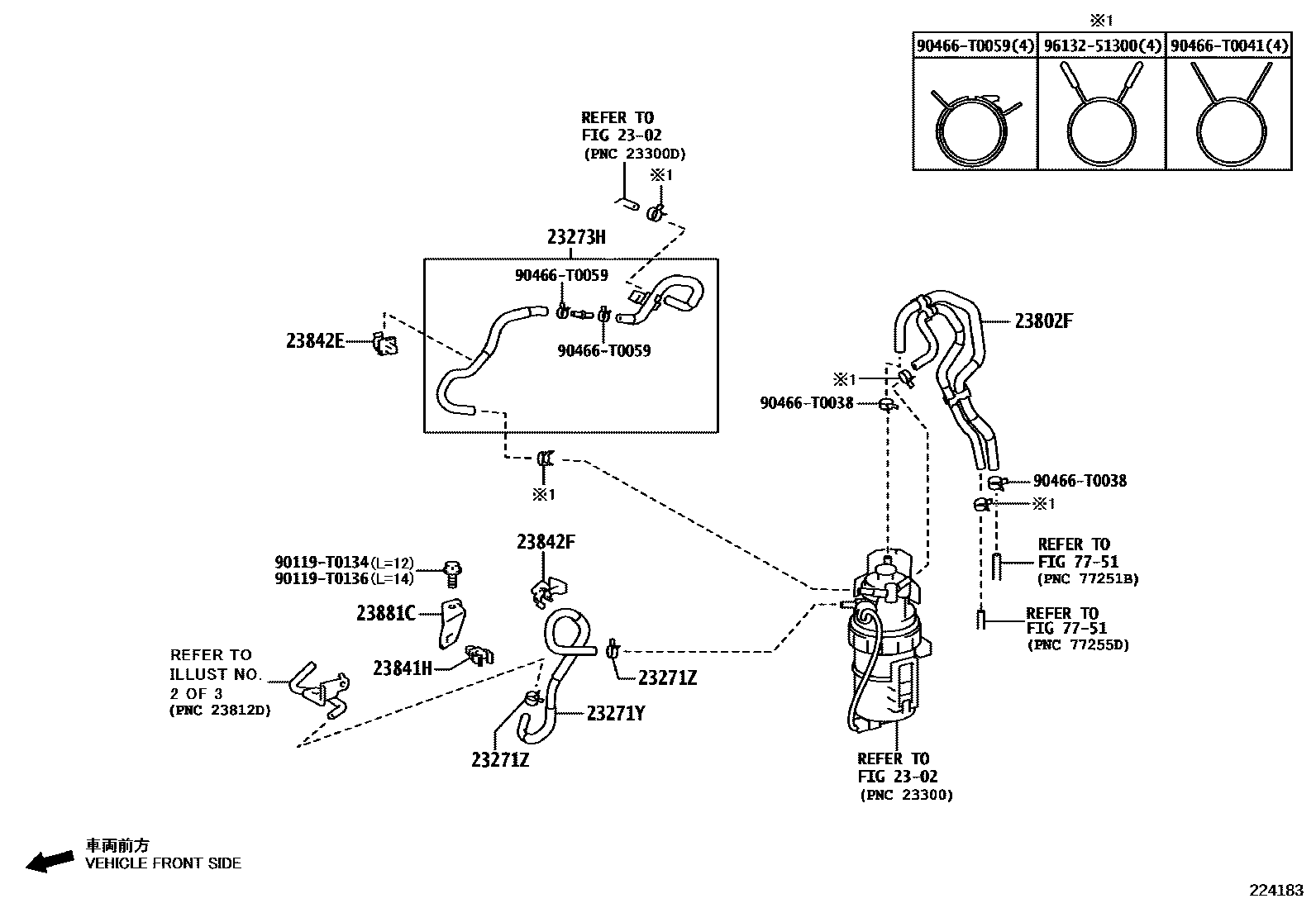
INJECTION PUMP ASSEMBLY

Parts diagram
2302FUEL FILTER
23271YHOSE, FUEL
main23271-0E031i202208-202307
23271ZCLIP, HOSE
main90466-T0023×2i202208-202307
23273HHOSE, FUEL, NO.2
main23273-0L132i202208-202307
23802FHOSE, FUEL
main23801-0E020i202208-202307
23841HCLAMP, FUEL HOSE
main23841-0L010i202208-202307
23842ECLAMP, FUEL PIPE, NO.1
main23841-0L041i202208-202307
23842FCLAMP, FUEL PIPE, NO.2
main23842-0E010i202208-202307
23881CBRACKET, FUEL HOSE
main23881-0E011i202208-202307
7751FUEL TANK & TUBE
90119T0134
90119T0136
90466T0038
90466T0041
90466T0059
9613251300

16 parts on this diagram · 3 diagrams in section

INJECTION PUMP ASSEMBLY — Toyota Parts Diagram with OEM Numbers & Prices | EPC Data