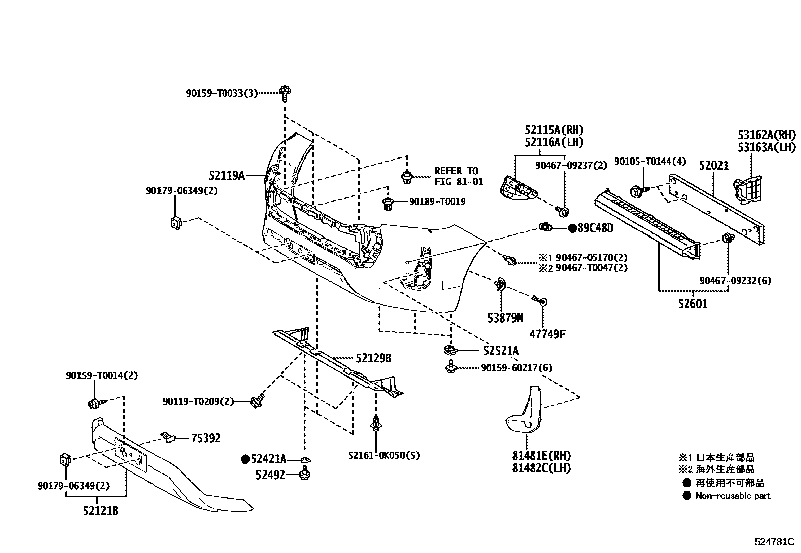
FRONT BUMPER & BUMPER STAY

47749FCLIP, PIN HOLD
52021REINFORCEMENT SUB-ASSY, FRONT BUMPER
52115ASUPPORT, FRONT BUMPER SIDE, RH
52116ASUPPORT, FRONT BUMPER SIDE, LH
52119ACOVER, FRONT BUMPER
SUPER WHITE 2,040
SILVER ME.,1D6
ATTITUDE BLACK MC.,218
OXIDE BRONZE ME.,6X1
DK. BLUE MC.,8X8
SUPER WHITE 2,040
SILVER ME.,1D6
ATTITUDE BLACK MC.,218
OXIDE BRONZE ME.,6X1
DK. BLUE MC.,8X8
52121BBRACKET, FRONT LICENCE PLATE MOUNTING
52129BCOVER, FRONT BUMPER, LOWER
52421APAD, FRONT BUMPER
52492BOLT, BUMPER PAD, NO.2
52521ACLIP(FOR FRONT BUMPER RETAINER)
52601ABSORBER SUB-ASSY, FRONT BUMPER ENERGY
53162ADEFLECTOR, FRONT BUMPER STONE, RH
53163ADEFLECTOR, FRONT BUMPER STONE, LH
53879MRETAINER, FRONT FENDER LINER
75392RETAINER, OUTSIDE MOULDING
8101HEADLAMP
81481ECOVER, FOG LAMP, RH
81482CCOVER, FOG LAMP, LH
89C48DRETAINER, ULTRASONIC SENSOR, FRONT CORNER
521610K050CUSHION, REAR BUMPER GUARD, NO.1
main52161-0K050
90105T0144
main90105-T0144
90119T0209
main90119-T0209
9015960217
main90159-60217
90159T0014
main90159-T0014
90159T0033
main90159-T0033
9017906349
main90179-06349
90189T0019
main90189-T0019
9046705170
main90467-05170
9046709232
main90467-09232
9046709237
main90467-09237
90467T0047
main90467-T0047
31 parts on this diagram · 1 diagram in section