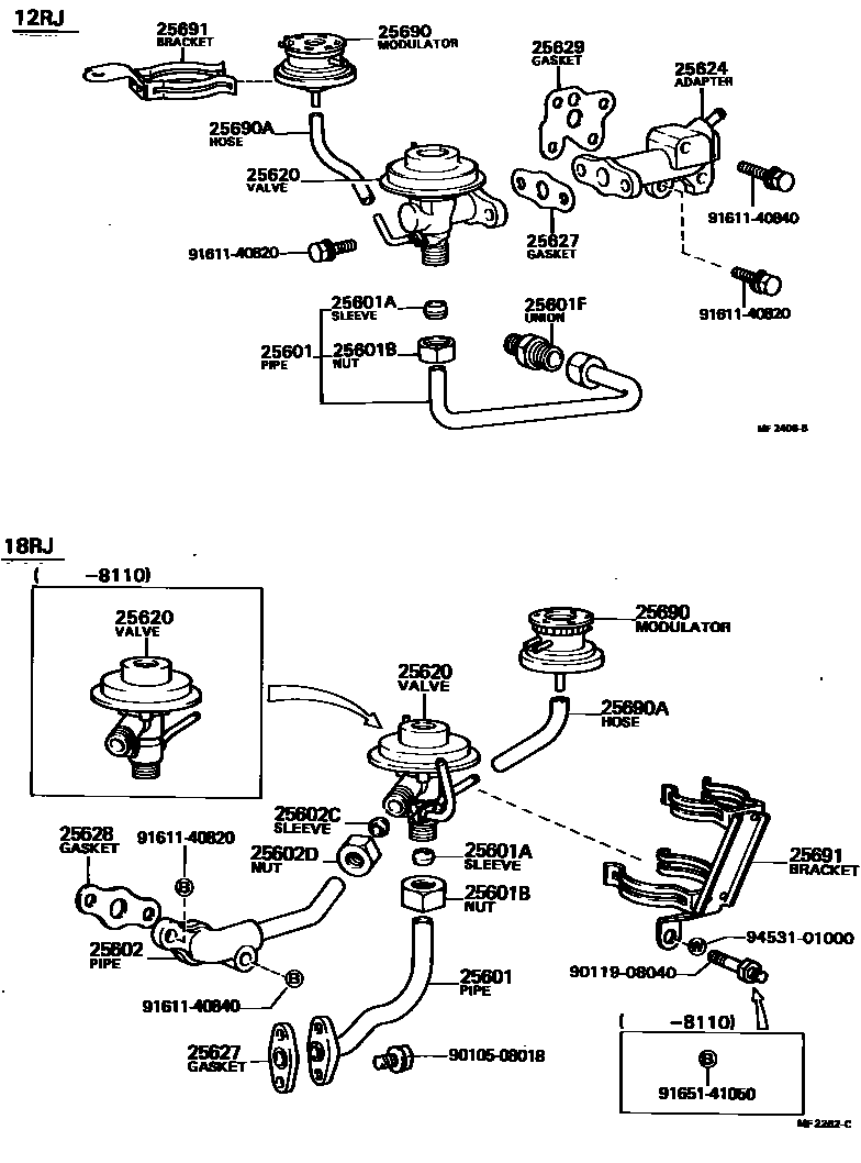
EXHAUST GAS RECIRCULATION SYSTEM

25601PIPE SUB-ASSY, EGR, NO.1
25601ASLEEVE, BALL, EGR PIPE, NO.1
25601BNUT, UNION, EGR PIPE, NO.1
25601FUNION(FOR EGR PIPE, NO.1)
25602PIPE SUB-ASSY, EGR, NO.2
25602CSLEEVE, BALL(FOR EGR PIPE, NO.2)
25602DNUT, UNION(FOR EGR PIPE, NO.2)
25620VALVE ASSY, EGR
25624ADAPTER, EGR VALVE
25627GASKET, EGR VALVE
25628GASKET, EGR INLET
25629GASKET, EGR VALVE ADAPTER
25690MODULATOR ASSY, EGR VACUUM
25690AHOSE(FOR EGR VACUUM MODULATOR)
25691BRACKET, EGR VACUUM MODULATOR
9010508018
main90105-08018
9011908040
main90119-08040
9161140820
main91611-40820
9161140840
main91611-40840
9165141050
main91651-41050
9453101000
main94531-01000
21 parts on this diagram · 1 diagram in section