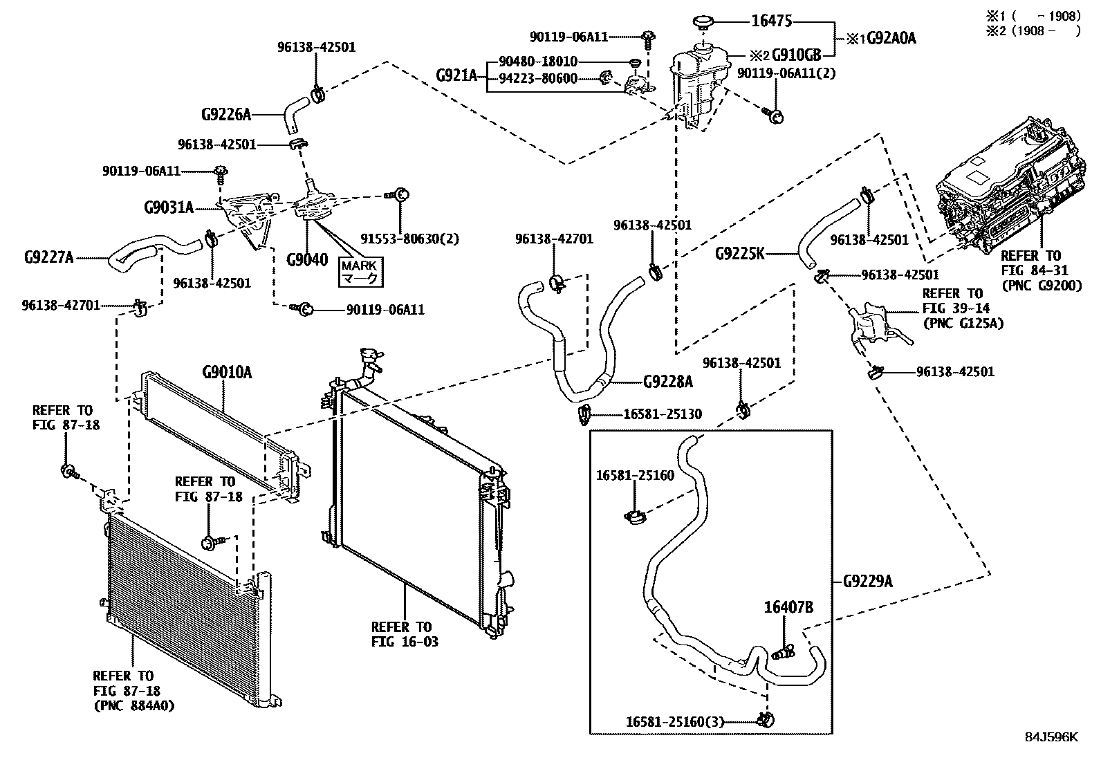
INVERTER COOLING

1603RADIATOR & WATER OUTLET
16407BCOCK SUB-ASSY, RADIATOR DRAIN
16475CAP, RESERVE TANK
3914OIL COOLER & TUBE (HEV OR BEV OR FCEV)
8431HEV INVERTER
8718HEATING & AIR CONDITIONING - COOLER PIPING
G9010ARADIATOR ASSY
G9031ABRACKET SUB-ASSY, HV WATER PUMP
G9040INVERTER WATER PUMP ASSY(W/MOTOR)
G910GBTANK SUB-ASSY, INVERTER RESERVE W/O CAP
G921ABRACKET, INVERTER RESERVE TANK, NO.1
G9225KHOSE, INVERTER COOLING, NO.1
G9226AHOSE, INVERTER COOLING, NO.2
G9227AHOSE, INVERTER COOLING, NO.3
G9228AHOSE, INVERTER COOLING, NO.4
G9229AHOSE, INVERTER COOLING, NO.5
G92A0ATANK ASSY, INVERTER RESERVE
1658125130CLAMP, HOSE(FOR WATER HOSE)
main16581-25130
1658125160CLAMP, HOSE(FOR WATER HOSE)
main16581-25160
9011906A11
main90119-06A11
9048018010
main90480-18010
9155380630
main91553-80630
9422380600
main94223-80600
9613842501
main96138-42501
9613842701
main96138-42701
25 parts on this diagram · 2 diagrams in section