E
EPC Data

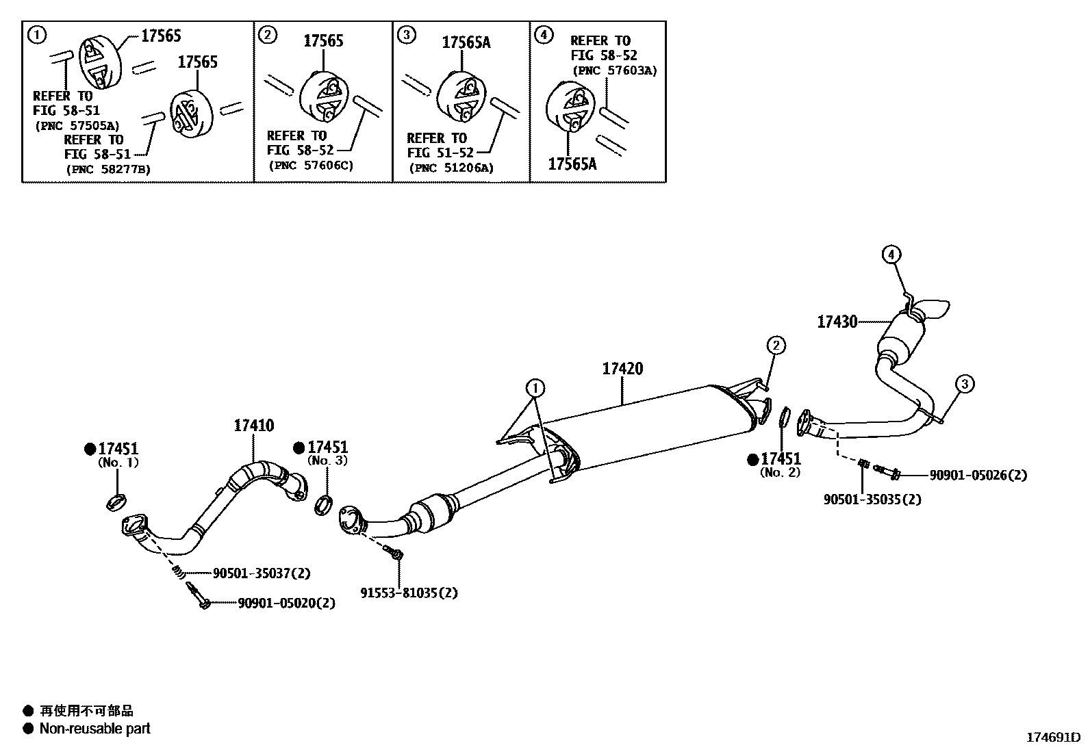
EXHAUST PIPE

Parts diagram
17410PIPE ASSY, EXHAUST, FRONT
main17410-28580i200511-200601
main17410-28581i200602-200903
main17410-28582i200904-201202
main17410-28583i201203
main17410-31610i201002-201202
main17410-31611i201203-201212
17420PIPE ASSY, EXHAUST, CENTER
main17403-31050i200708-201002
main17403-31051i201203-201212
main17420-28620i200511-200805
main17420-28710i201002-201008
main17420-28B00i201008-201105
main17420-28B01i201106-201202
main17420-28B02i201203
17430PIPE ASSY, EXHAUST, TAIL
main17430-28760i200511-200804
main17430-28761i200805-200808
main17430-28762i200902-200906
main17430-28770i200708-200801
main17430-28771i200802-200907
main17430-28773i201002-201202
main17430-28774i201203
main17430-31510i200708-200801
main17430-31511i200802-200907
main17430-31513i201002-201202
main17430-31514i201203-201212
main17430-37370i200906-200907
main17430-37371i200908-201202
main17430-37372i201203-201409
main17430-37373i201410
17451GASKET, EXHAUST PIPE
main17451-28050i200511-200709
main17451-28070i200710-200808
main17451-31010i200511-200806
main17451-31011i200808-201102
main17451-31012i201103
main90917-06078i200511-201002
main90917-06089×2i200708-201002
17565SUPPORT, EXHAUST PIPE, NO.5
main17565-22040×3i200808
17565ASUPPORT, EXHAUST PIPE, NO.4
main17565-22030×2i200511-200808
5152SUSPENSION CROSSMEMBER & UNDER COVER
5851FRONT FLOOR PANEL & FRONT FLOOR MEMBER
5852REAR FLOOR PANEL & REAR FLOOR MEMBER
9050135035
9050135037
9090105020
9090105026
9155381035

14 parts on this diagram · 2 diagrams in section

EXHAUST PIPE — Toyota Parts Diagram with OEM Numbers & Prices | EPC Data