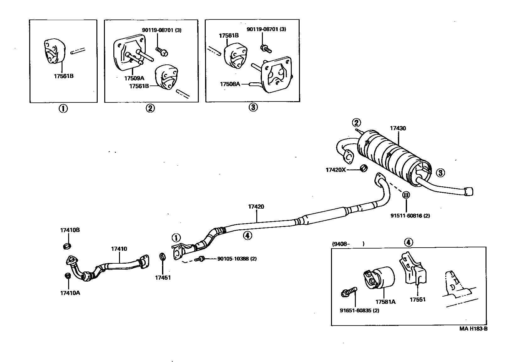
EXHAUST PIPE

17410PIPE ASSY, EXHAUST, FRONT
17410ANUT, EXHAUST PIPE SET STUD BOLT
17410BGASKET, EXHAUST PIPE
17420PIPE ASSY, EXHAUST, CENTER
17420XGASKET, EXHAUST PIPE, CENTER
17430PIPE ASSY, EXHAUST, TAIL
17508ABRACKET SUB-ASSY, EXHAUST PIPE NO.3 SUPPORT
17509ABRACKET SUB-ASSY, EXHAUST PIPE NO.4 SUPPORT
17551INSULATOR, EXHAUST PIPE HEAT, NO.1
17561BSUPPORT, EXHAUST PIPE, NO.1
17581ADAMPER, EXHAUST PIPE
9010510388
main90105-10388
9011908701
main90119-08701
9151160816
main91511-60816
9165160835
main91651-60835
16 parts on this diagram · 4 diagrams in section