WIRING & CLAMP

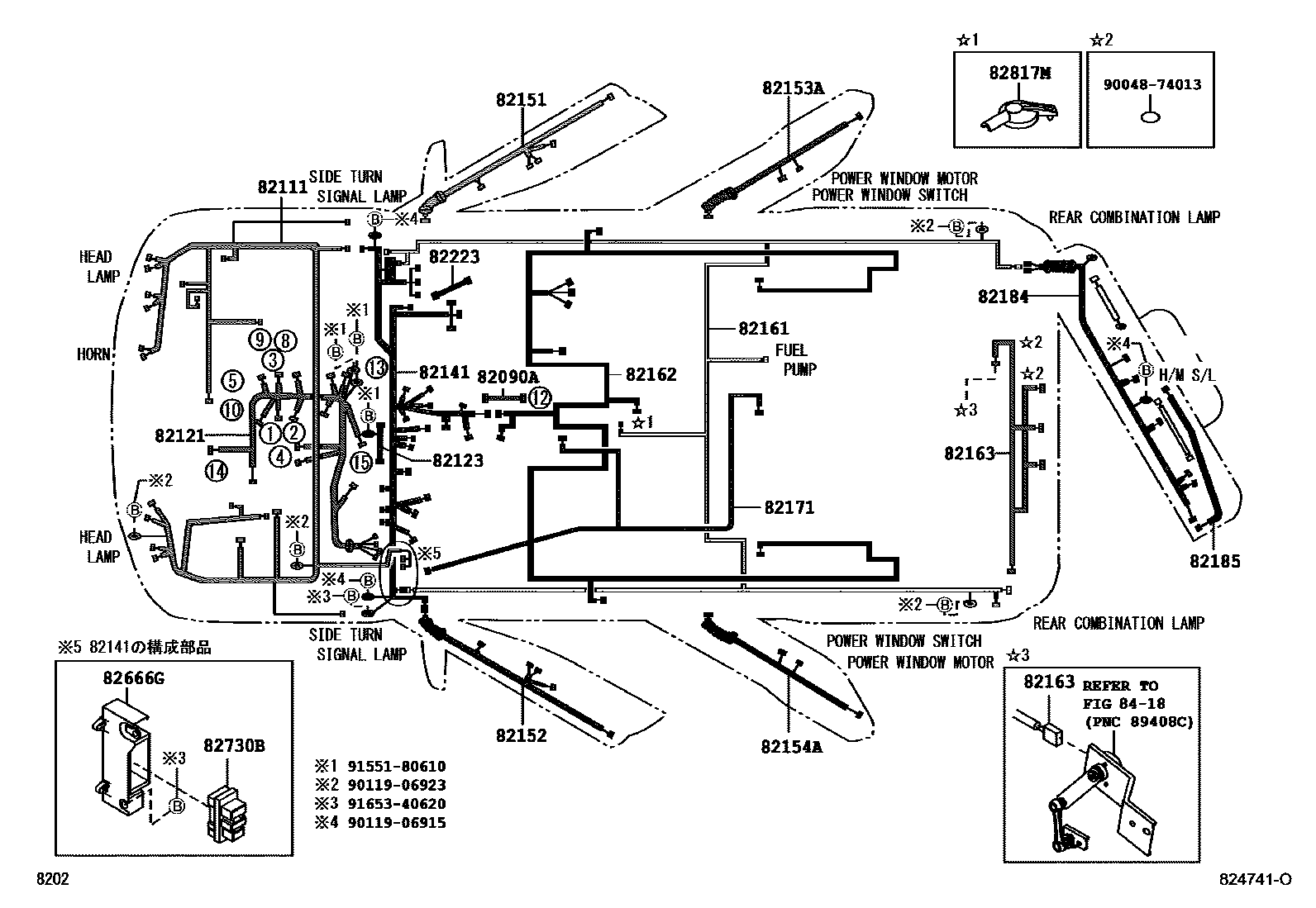
82090AWIRE ASSY, EXTENSION
82111WIRE, ENGINE ROOM MAIN
82121WIRE, ENGINE
82141WIRE, INSTRUMENT PANEL
82152WIRE, FRONT DOOR, LH
82153AWIRE, REAR DOOR, RH
82154AWIRE, REAR DOOR, LH
82161WIRE, FLOOR
82162WIRE, FLOOR, NO.2
82163WIRE, FLOOR, NO.3
82171WIRE, ROOF, NO.1
82184WIRE, BACK DOOR, NO.1
82185WIRE, BACK DOOR, NO.2
82223WIRE, SWITCH
82666GHOLDER, CONNECTOR NO.8
82730BBLOCK ASSY, PASSENGER SIDE JUNCTION
82817MPROTECTOR, WIRING HARNESS, NO.12
8418ELECTRONIC HEIGHT CONTROL
9004874013
main90048-74013
9011906915
main90119-06915
9011906923
main90119-06923
9155180610
main91551-80610
9165340620
main91653-40620
25 parts on this diagram · 3 diagrams in section