E
EPC Data

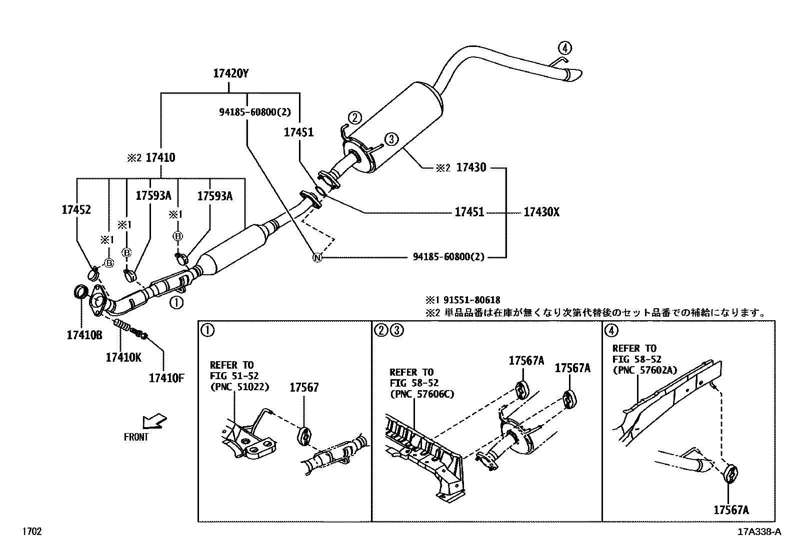
EXHAUST PIPE

Parts diagram
17410PIPE ASSY, EXHAUST, FRONT
main17410-B4010i200811-201409
17410BGASKET, EXHAUST PIPE
main17451-21030i200601-200811
17410FBOLT OR RING, EXHAUST PIPE FRONT (FOR FRONT)
main17569-97501×2i200601-200811
main46792-B4010×2i201204-201409
17410KSPRING, EXHAUST PIPE
main17152-97503×2i200601-200811
main17152-B4010×2i201204-201409
17420YPIPE SET, EXHAUST, FRONT
main17420-B9660i200601-200811
17430PIPE ASSY, EXHAUST, TAIL
main17430-B4020i200601-200703
main17430-B4050i200703-200811
17430XPIPE SET, EXHAUST TAIL
main17430-B9640i200811-201605
17451GASKET, EXHAUST PIPE
main90917-06039i200811-201409
17452CLAMP, EXHAUST PIPE
main90461-12350i200811-201605
17567CUSHION, EXHAUST PIPE SUPPORT
main17567-87210i200601-200811
17567ACUSHION, EXHAUST PIPE SUPPORT, NO.2
main17567-87210×3i200803-200811
main17567-B2010×3i200601-200803
main17567-B2020×3i201604-201605
17593ACLAMP
main90461-12418×2i200601-200811
5152SUSPENSION CROSSMEMBER & UNDER COVER
5852REAR FLOOR PANEL & REAR FLOOR MEMBER
9155180618
9418560800

16 parts on this diagram · 1 diagram in section

EXHAUST PIPE — Toyota Parts Diagram with OEM Numbers & Prices | EPC Data