OIL COOLER & TUBE (ATM)

1603RADIATOR & WATER OUTLET
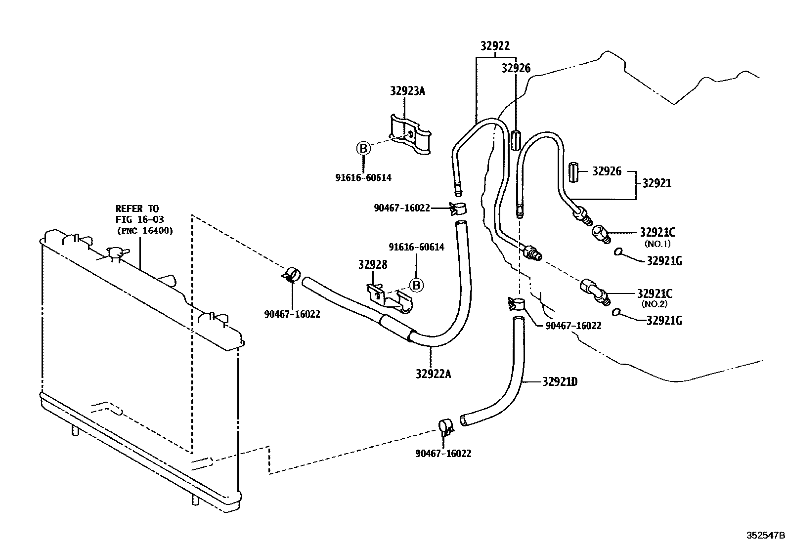
32921TUBE, OIL COOLER INLET, NO.1
32921CUNION(FOR OIL COOLER TUBE)
32921DHOSE(FOR OIL COOLER INLET)
32921GRING, O(FOR OIL COOLER TUBE UNION)
32922TUBE, OIL COOLER OUTLET, NO.1
32922AHOSE(FOR OIL COOLER OUTLET)
32923ACLAMP, AUTOMATIC TRANSMISSION OIL COOLER TUBE
32926CUSHION, OIL COOLER TUBE(ATM)
32928CLAMP, FLEXIBLE HOSE, NO.1
9046716022
main90467-16022
9161660614
main91616-60614
12 parts on this diagram · 1 diagram in section