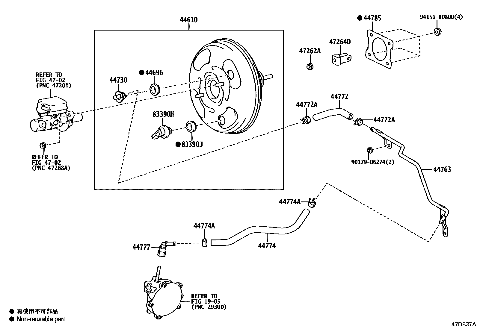
44610BOOSTER ASSY, BRAKE
main44610-28C10iMZRA9#..G,Z;MZRA95..IV5;MZRA92..08S..SG202201-202501 44696GROMMET, CHECK VALVE
main90480-24439iMZRA9#..G,Z;MZRA95..IV5;MZRA92..08S..SG202201-202501 44730VALVE ASSY, VACUUM CHECK(FOR BRAKE)
main44730-52010iMZRA9#..G,Z;MZRA95..IV5;MZRA92..08S..SG202201-202501 44763TUBE, BOOSTER VACUUM
main44763-V1010iMZRA9#..G,Z;MZRA95..IV5;MZRA92..08S..SG202201-202501 44772HOSE, CHECK VALVE TO CONNECTOR TUBE
main44772-V1010iMZRA9#..G,Z;MZRA95..IV5;MZRA92..08S..SG202201-202501 44772ACLIP(FOR CHECK VALVE TO CONNECTOR TUBE)
main90467-16014×2iMZRA9#..G,Z;MZRA95..IV5;MZRA92..08S..SG202201-202501 44774HOSE, UNION TO CONNECTOR TUBE
main44774-V1010iMZRA9#..G,Z;MZRA95..IV5;MZRA92..08S..SG202201-202501 44774ACLIP(FOR UNION TO CONNECTOR TUBE HOSE)
main90467-16014×2iMZRA9#..G,Z;MZRA95..IV5;MZRA92..08S..SG202201-202501 44777CONNECTOR, VACUUM HOSE, NO.1
main44777-12010iMZRA9#..G,Z;MZRA95..IV5;MZRA92..08S..SG202201-202501 44785GASKET, BRAKE BOOSTER
main44785-12040iMZRA9#..G,Z;MZRA95..IV5;MZRA92..08S..SG202201-202501 4702BRAKE MASTER CYLINDER
47262ANUT, MASTER CYLINDER PUSH ROD CLEVIS LOCK
main90179-10065iMZRA9#..G,Z;MZRA95..IV5;MZRA92..08S..SG202201-202501 47264DCLEVIS, BRAKE MASTER CYLINDER PUSH ROD
main47264-33030iMZRA9#..G,Z;MZRA95..IV5;MZRA92..08S..SG202201-202501 83390HSWITCH ASSY, VACUUM WARNING
main83390-28120iMZRA9#..G,Z;MZRA95..IV5;MZRA92..08S..SG202201-202501 83390JGROMMET, VACUUM WARNING SWITCH
main90480-24439iMZRA9#..G,Z;MZRA95..IV5;MZRA92..08S..SG202201-202501