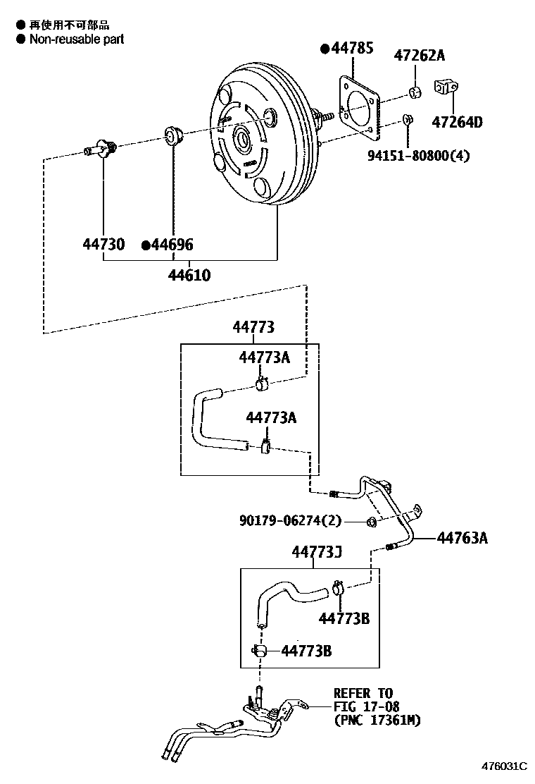
BRAKE BOOSTER & VACUUM TUBE

1708
44696GROMMET, CHECK VALVE
44730VALVE ASSY, VACUUM CHECK(FOR BRAKE)
44763ATUBE, HOSE TO HOSE, NO.1
44773HOSE, VACUUM, NO.2
44773ACLIP, NO.1(FOR VACUUM HOSE, NO.2)
44773BCLIP, NO.2(FOR VACUUM HOSE, NO.2)
44773JHOSE, VACUUM, NO.3
47262ANUT, MASTER CYLINDER PUSH ROD CLEVIS LOCK
47264DCLEVIS, BRAKE MASTER CYLINDER PUSH ROD
9017906274
main90179-06274
9415180800
main94151-80800
14 parts on this diagram · 2 diagrams in section