E
EPC Data

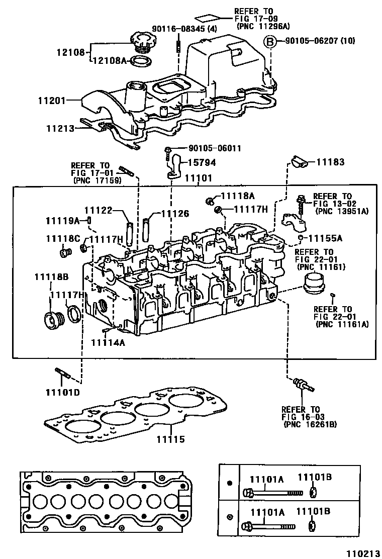
CYLINDER HEAD

Parts diagram
11101HEAD SUB-ASSY, CYLINDER
main11101-06030i199611-199812
main11101-06040i199812
main11101-13062i199611-199812
main11101-64181i199611-199705
main11101-64182i199705-199708
main11101-64183i199708-199812
main11101-64261i199610-199705
main11101-64262i199705-199708
main11101-64263i199708-199808
main11101-64264i199808-199812
main11101-64360i199812-199908
main11101-64370i199812-199903
main11101-64371i199903-200407
main11101-64400i199908-200111
main11101-79195i199610-200111
11101ABOLT(FOR CYLINDER HEAD SET)
main90109-10059i199611-199710
main90109-10132i199610-200111
main90910-02069i199611-199812
main90910-02074i199611-199812
main90910-02097i199610-199812
main90910-02099i199610-199812
main90910-02121i199710-199812
main90910-02130i199812-200407
main90910-02131i199812-200407
11101BWASHER, PLATE(FOR CYLINDER HEAD SET)
main90201-10005i199611-199812
main90201-10344i199611-199812
main90201-11026i199610-200111
main90201-12222i199610-200407
11101DBOLT, STUD(FOR WATER OUTLET)
main92122-60820i199610-199812
11114APIN, STRAIGHT
main90250-06068i199610-200407
11115GASKET, CYLINDER HEAD
main11115-06010i199611-199806
main11115-06020i199806-199812
main11115-13041i199611-199812
main11115-13060i199806-199812
main11115-64122i199611-199704
main11115-64130i199610-199708
main11115-64130-01i199708-199808
main11115-64130-02i199708-199808
main11115-64130-03i199708-199808
main11115-64131-01i199808-199812
main11115-64131-02i199808-199812
main11115-64131-03i199808-199812
main11115-64170-A0i199704-199812
main11115-64170-B0i199704-199812
main11115-64170-C0i199704-199812
main11115-64190-01i199812-200407
main11115-64190-03i199812-200407
main11115-64190-05i199812-200407
main11115-74110i199610-200111
11117HGASKET(FOR WATER HOLE)
main90430-10204i199610-199705
main90430-12010i199610-199705
main90430-24246i199610-200111
main90430-33133i199610-199705
11118APLUG, STRAIGHT, NO.1
main90341-10005i199610-199705
11118BPLUG, STRAIGHT, NO.2
main90341-32070i199610-199705
11118CPLUG, STRAIGHT, NO.3
main90341-12013i199610-199705
11119APIN, STRAIGHT, NO.1
main90250-06003i199610-200111
main90250-06013i199610-200407
main90250-08120i199611-199812
11122BUSH, INTAKE VALVE GUIDE
main11122-24020i199611-200708
main11122-64010i199610-200407
main11122-74030i199610-200111
main11123-24020i199611-200708
main11123-64010i199610-200407
main11123-74030i199610-200111
11126BUSH, EXHAUST VALVE GUIDE
main11122-16010i199610-200111
main11122-24020i199611-200708
main11123-16010i199610-200111
main11123-24020i199611-200708
main11126-64010i199610-199708
main11126-64030i199708-200407
main11127-64010i199610-199708
main11127-64030i199708-200407
11155APIN, RING W/HEAD
main90253-10004i199610-200111
main90253-11021i199610-200407
11183PLUG, SEMICIRCULAR
main11183-64010i199610-200407
main11183-74010i199610-200111
11201COVER SUB-ASSY, CYLINDER HEAD
main11201-06030i199611-199812
main11201-13021i199611-199812
main11201-64150i199610-199812
main11201-64170i199812-200111
main11201-64180i199812-200407
main11201-74080i199610-199901
main11201-74081i199901-200111
11213GASKET, CYLINDER HEAD COVER
main11213-22010i199611-199812
main11213-64061i199610-200407
main11213-74020i199610-200111
12108CAP SUB-ASSY, OIL FILLER
main12180-50040i199812-200407
main12180-55010i199610-200111
main12180-65011i199611-199812
12108AGASKET(FOR OIL FILLER CAP)
main12195-50010i199812-200407
main90430-37140i199610-200111
1302
15794NOZZLE, CYLINDER HEAD OIL
main15794-64011i199610-200407
1603
1701
1709
2201
9010506011
9010506207
9011608345

28 parts on this diagram · 7 diagrams in section

CYLINDER HEAD — Toyota Parts Diagram with OEM Numbers & Prices | EPC Data