E
EPC Data

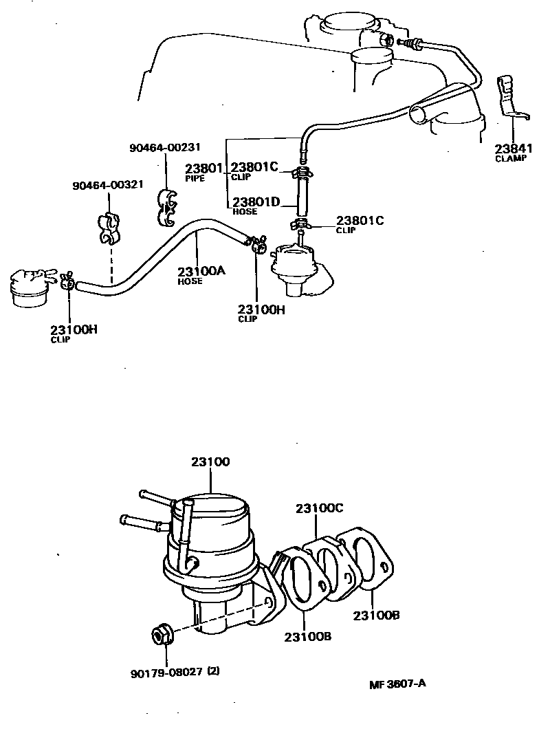
FUEL PUMP & PIPE

Parts diagram
23100PUMP ASSY, FUEL
main23100-13101i198808-198907
main23100-19235i198907-198912
main23100-19236i198912-199201
main23100-73031i198808-199201
23100AHOSE, FUEL
main90447-12081i198808-199201
main95333-06040i198808-199201
23100BGASKET, FUEL PUMP
main90923-05006×2i198808-198912
main90923-05016×2i198808-198912
main90923-05021×2i198912-199201
main90923-05022×2i198912-199201
23100CINSULATOR, FUEL PUMP
main90923-06003i198808-199003
main90923-06008i198808-199002
main90923-06014i199002-199201
main90923-06015i199003-199201
23100HCLIP(FOR FUEL HOSE)
main96132-30600×2i198808-199201
23801PIPE OR HOSE SUB-ASSY, CARBURETOR FUEL, NO.1
main23801-13120i198808-199201
main23811-71011i198808-199201
23801CCLIP(FOR CARBURETOR FUEL HOSE)
main96132-30600×2i198808-199201
23801DHOSE, FUEL PIPE, NO.1
main90447-12093i198808-199201
main95333-06010i198808-199201
23841CLAMP, FUEL PIPE(HOSE), NO.1
main23841-13020i198808-199201
9017908027
9046400231
9046400321

12 parts on this diagram · 2 diagrams in section

FUEL PUMP & PIPE — Toyota Parts Diagram with OEM Numbers & Prices | EPC Data