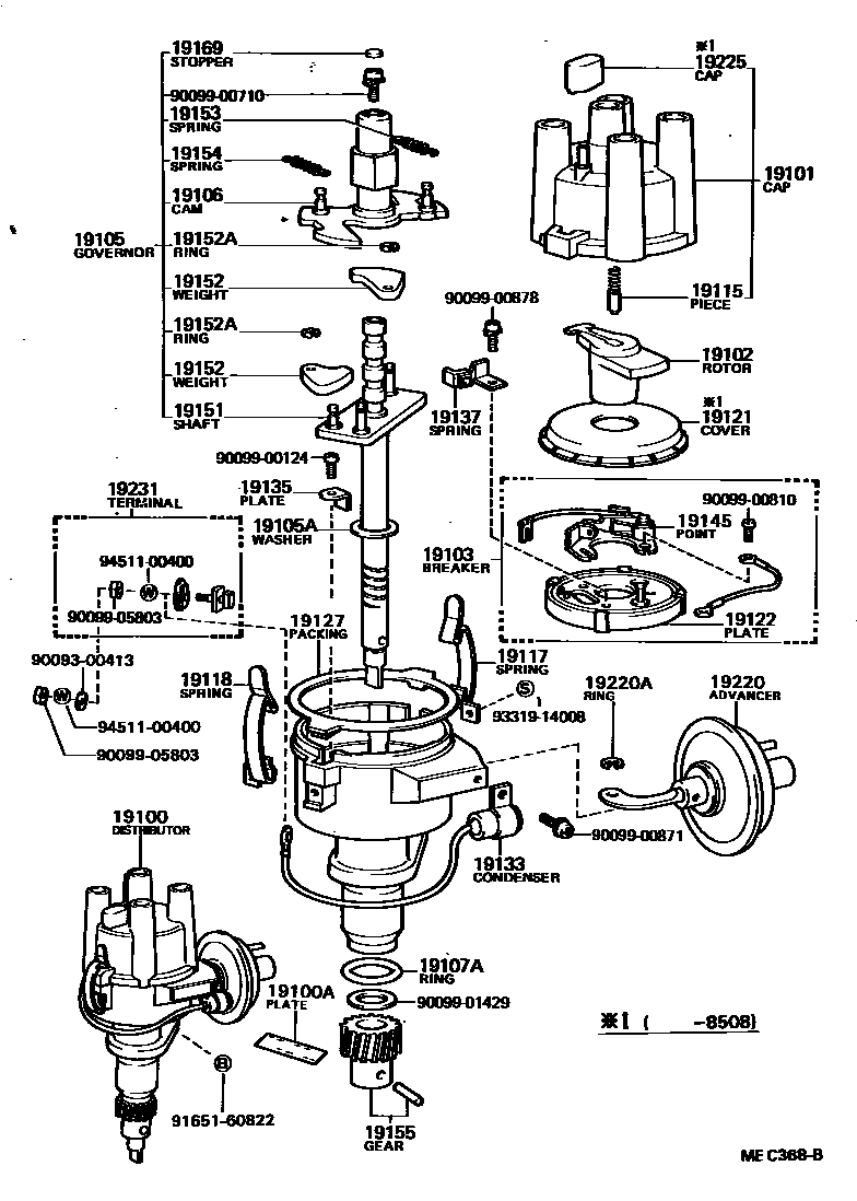
DISTRIBUTOR

19100DISTRIBUTOR ASSY
19100ATAPE, SEALING
19101CAP SUB-ASSY, DISTRIBUTOR
19102ROTOR SUB-ASSY, DISTRIBUTOR
main19102-16040i2YU..YR20..HRF..E;2YU..YR20..HRF..5F..G;2YU..YR20..MRF..(08S,09S);1YJ,2YU,3YEU..YR21,26,28,3#198708-198808
main19102-63010i2YU..YR20..HRF..5F..G;2YU..YR20..MRF..(08S,09S);1YJ,2YU..YR20,26,28..(HRF,SRF)..(B,D,E,N,Q)198509-198708
19103BREAKER SUB-ASSY, DISTRIBUTOR
19105GOVERNOR SUB-ASSY
19105AWASHER(FOR GOVERNOR SHAFT THRUST)
19106CAM SUB-ASSY, DISTRIBUTOR
19107ARING, O, DISTRIBUTOR HOUSING
19115PIECE, DISTRIBUTOR CAP, CENTER
main19115-71010×2i2YU..YR20..HRF..5F..G;2YU..YR20..MRF..(08S,09S);1YJ,2YU..YR20,26,28..(HRF,SRF)..(B,D,E,N,Q,X); 3YEU..YR21,3#198505-198705
19117SPRING, DISTRIBUTOR CAP, A
19118SPRING, DISTRIBUTOR CAP, B
19121COVER, DUST PROOF
NO.1
NO.1
NO.2
NO.1
19122PLATE, STATIONARY, DISTRIBUTOR
19127PACKING, DUST PROOF
NO.1
NO.2
19133CONDENSER, DISTRIBUTOR
19135PLATE, HOLDER
19137SPRING SUB-ASSY, DAMPER
19145POINT, DISTRIBUTOR
19151SHAFT, GOVERNOR
19152WEIGHT, GOVERNOR
main19152-71010×2i2YU..YR20..HRF..5F..G;2YU..YR20..MRF..(08S,09S);1YJ,2YU..YR20,26,28..(HRF,SRF)..(B,D,E,N,Q)198508-198708
19152ARING, SNAP(FOR GOVERNOR WEIGHT)
19153SPRING, GOVERNOR, A
19154SPRING, GOVERNOR, B
19155GEAR, SPIRAL, DISTRIBUTOR
19169STOPPER, CAM GREASE
19220ADVANCER ASSY, VACUUM, DISTRIBUTOR
19220ARING, SNAP(FOR DISTRIBUTOR VACUUM ADVANCER)
19225CAP, RUBBER
19231TERMINAL, DISTRIBUTOR
9009300413
main90093-00413
9009900124
main90099-00124
9009900710
main90099-00710
9009900810
main90099-00810
9009900871
main90099-00871
9009900878
main90099-00878
9009901429
main90099-01429
9009905803
main90099-05803
9165160822
main91651-60822
9331914008
main93319-14008
9451100400
main94511-00400
41 parts on this diagram · 3 diagrams in section