E
EPC Data

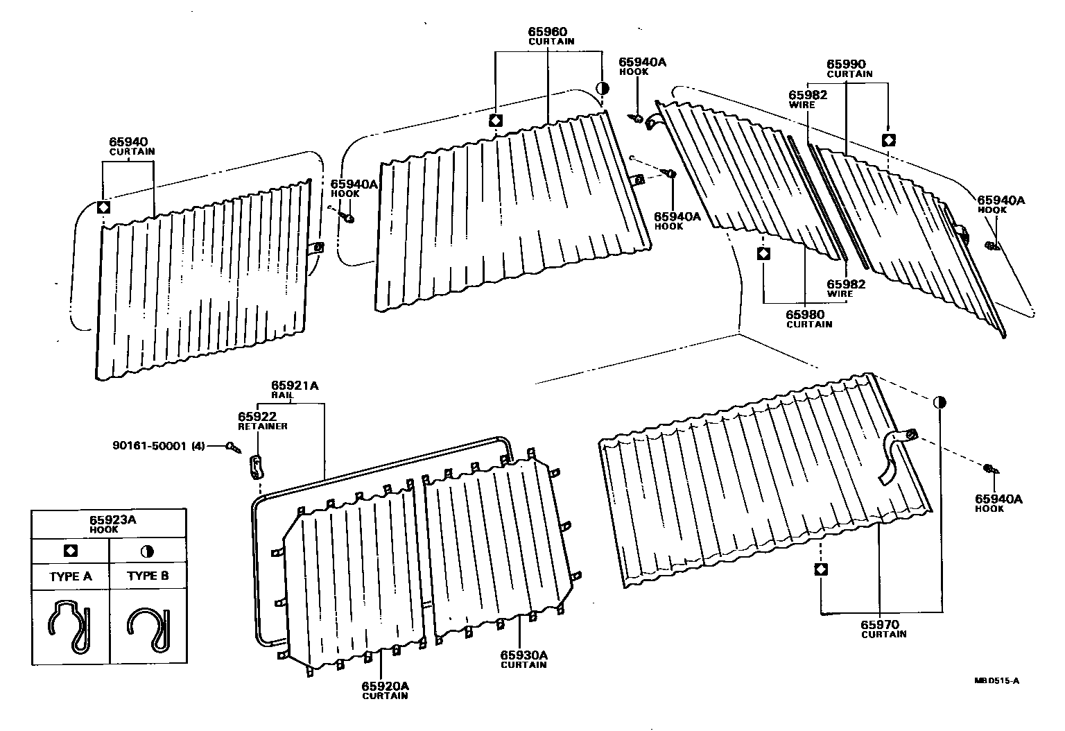
ROOM CURTAIN & ROOM RACK

Parts diagram
65920ACURTAIN ASSY, SLIDE DOOR, FRONT
main65920-87001i198201-198210
65921ARAIL, SLIDE DOOR CURTAIN
main65921-87001i198201-198210
65922RETAINER, SLIDE CURTAIN RAIL
main65922-87001×4i198201-198210
65923AHOOK, CURTAIN, NO.1
main65923-95700i198201-198210
TYPE A
main65923-95701×2i198201-198210
TYPE B
65930ACURTAIN ASSY, SLIDE DOOR, REAR
main65930-87001i198201-198210
65940CURTAIN ASSY, SIDE, FRONT RH
main65940-87001i198201-198210
65940AHOOK, CURTAIN,MALE
main58521-87202×5i198201-198210
65960CURTAIN ASSY, SIDE, REAR RH
main65960-87001i198201-198210
65970CURTAIN ASSY, SIDE, REAR LH
main65970-87001i198201-198210
65980CURTAIN ASSY, BACK DOOR, RH
main65980-87001i198201-198210
65982WIRE, BACK DOOR CURTAIN SUPPORT
main65982-87001×2i198201-198210
65990CURTAIN ASSY, BACK DOOR, LH
main65990-87001i198201-198210
9016150001

13 parts on this diagram · 1 diagram in section

ROOM CURTAIN & ROOM RACK — Toyota Parts Diagram with OEM Numbers & Prices | EPC Data