E
EPC Data

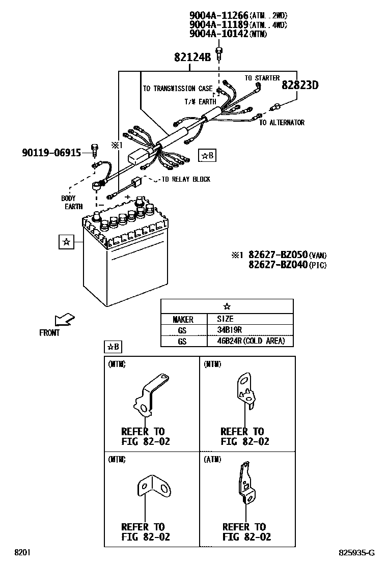
BATTERY & BATTERY CABLE

Parts diagram
8202WIRING & CLAMP
82124BWIRE, ENGINE, NO.4
main82122-BZ160i200801-201007
main82122-BZ161supersedes 82122-BZ310i201008-202007
main82122-BZ170supersedes 82122-BZ350i200801-201802
main82122-BZ171i201802-202007
main82122-BZ190i200801-201007
main82122-BZ191supersedes 82122-BZ330i201008-202007
main82122-BZ200supersedes 82122-BZ360i200801-201802
main82122-BZ201i201802-202007
82823DCAP, TERMINAL
main82823-22060i200801-202007
82627BZ040PLATE, FUSE HOLDER
82627BZ050PLATE, FUSE HOLDER
9004A10142
9004A11189
9004A11266
9011906915

9 parts on this diagram · 2 diagrams in section

BATTERY & BATTERY CABLE — Toyota Parts Diagram with OEM Numbers & Prices | EPC Data