E
EPC Data
Pricing
Sign In
Home
›
JP
›
641110
›
REAR BODY MOUNTING
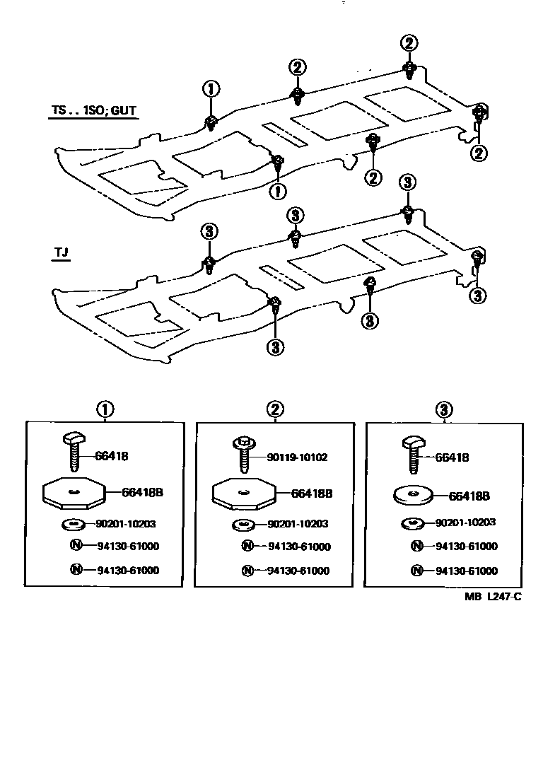
REAR BODY MOUNTING
0001 1
0002 1
66418
BOLT, MOUNTING
main
66418-95400
×2
i
KM5#..GUT;KM5#..TS..1SO;CM60,YM60..T1; KM5#..TJ
198711
66418B
SHIM, MOUNTING
main
66441-27010
×6
i
KM51..GUT;KM51..TS..1SO;CM60,YM60..T1
199111
main
66441-92220
×6
i
KM50..TJ
198610-198711
main
66441-95A01
×6
i
CM51,52,60,61,KM51,YM60..3SO..CBU
199111-199310
main
90564-15142
×6
i
KM5#..TJ
198711-199310
9011910102
main
90119-10102
9020110203
main
90201-10203
9413061000
main
94130-61000
5 parts on this diagram · 2 diagrams in section
REAR BODY MOUNTING — Toyota Parts Diagram with OEM Numbers & Prices | EPC Data