E
EPC Data

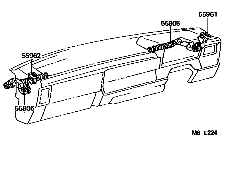
FRONT VENTILATOR

Parts diagram
55805DUCT SUB-ASSY, SIDE VENTILATOR, NO.2 RH
main55971-27010i199611
main55971-95700i199310-199611
55806DUCT SUB-ASSY, SIDE VENTILATOR, NO.2 LH
main55972-27010i199611
main55972-95700i198610-199310
55961NOZZLE, SIDE DEFROSTER, NO.1
main55961-27010-B0i199611-199906
LIGHT GRAY,TRIM1#
main55961-95701-03i198610-198711
GRAY,MEDIUM GRAY; MEDIUM GRAY,TRIM1#
main55961-95701-04i198610-198711
BLUE,BLUE; BLUE,TRIM8#
main55961-95701-13i199310-199611
GRAY,TRIM1#
55962NOZZLE, SIDE DEFROSTER, NO.2
main55962-95701-03i198610-198711
GRAY,MEDIUM GRAY; MEDIUM GRAY,TRIM1#
main55962-95701-04i198610-198711
BLUE,BLUE; BLUE,TRIM8#
main55962-95701-13i198910-199310
GRAY,TRIM1#

4 parts on this diagram · 2 diagrams in section

FRONT VENTILATOR — Toyota Parts Diagram with OEM Numbers & Prices | EPC Data