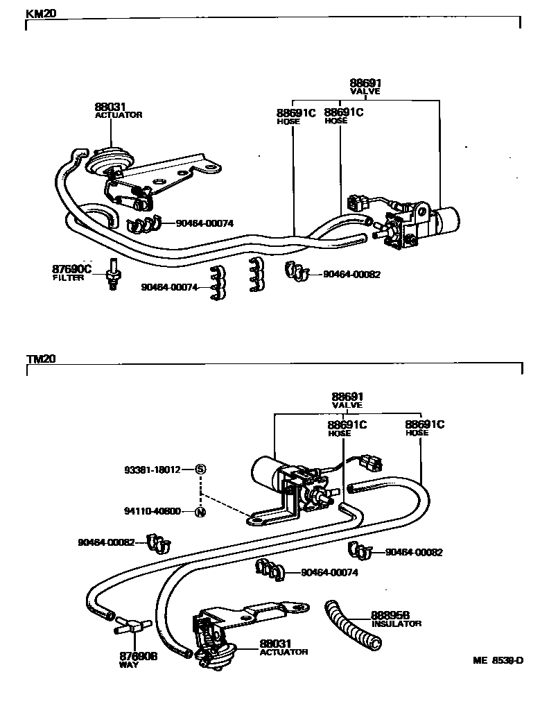
HEATING & AIR CONDITIONING - VACUUM PIPING

87690BWAY, 3
87690CFILTER ASSY, GAS
88031ACTUATOR SET, IDLE-UP
W/HEATER IDLE UP
W/HEATER IDLE UP
W/*ODAC; W/HEATER IDLE UP,COLD SPEC
W/*ODAC; W/HEATER IDLE UP, COLD SPEC
W/HEATER IDLE UP
W/TECS LPG ENGINE
W/COOLER IDLE UP
88691VALVE, MAGNET (FOR IDLE UP DEVICE)
W/COOLER IDLE UP
W/PS
W/HEATER IDLE UP
W/HEATER IDLE UP
W/HEATER IDLE UP
W/COOLER IDLE UP
W/HEATER IDLE UP
W/PS
W/HEATER IDLE UP
W/PS
W/COOLER IDLE UP
88691CHOSE, VACUUM (FOR IDLE UP DEVICE), NO.1
MARK=#0
*H,L=120,MARK=#3
MARK=#8
*H,L=420,MARK=#8
88895BINSULATOR, HOSE (FOR IDLE UP DEVICE)
9046400074
main90464-00074
9046400082
main90464-00082
9338118012
main93381-18012
9411040800
main94110-40800
10 parts on this diagram · 6 diagrams in section