E
EPC Data

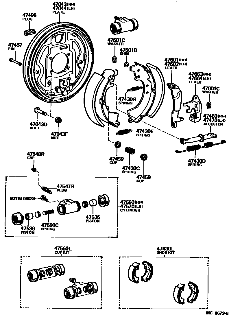
REAR DRUM BRAKE WHEEL CYLINDER & BACKING PLATE

Parts diagram
47043PLATE SUB-ASSY, BRAKE BACKING, REAR RH
main47043-27010i197910-198609
main47043-28020i197910-198609
47043DBOLT(FOR BACKING PLATE TO REAR AXLE HOUSING SETTING)
main42184-22011×8i197910-198609
main90101-10069×4i197910-198609
47043FNUT(FOR BACKING PLATE TO REAR AXLE HOUSING SETTING)
main90170-10191×4i197910-198609
main94181-11000×8i197910-198609
47044PLATE SUB-ASSY, BRAKE BACKING, REAR LH
main47044-27010i197910-198609
main47044-28020i197910-198609
47430CSPRING(FOR REAR BRAKE SHOE HOLD DOWN)
main90501-18017×4i197910-198609
47430DSPRING, TENSION(FOR REAR BRAKE SHOE RETURN)
main90506-23013×2i197910-198609
main90506-23375×2i197910-198609
47430ESPRING, TENSION(FOR REAR BRAKE SHOE RETURN)
main90506-16048×2i198305-198609
main90506-23346×2i197910-198609
47430GSPRING, TENSION(FOR REAR BRAKE AUTOMATIC ADJUST LEVER)
main90506-12011×2i197910-198609
47430LSHOE KIT, REAR BRAKE
main04495-20050i198210-198508
FR DISC BRAKE
main04495-20080i198210-198609
FR DRUM BRAKE
main04495-27010i197910-198210
FR DRUM BRAKE
main04495-27011i198305-198609
main04495-27020i198101-198210
FR DISC BRAKE
main04497-20030i198210-198609
REBUILT,FR DISC BRAKE
main04497-20060i198210-198609
REBUILT,FR DRUM BRAKE
main04497-27010i197910-198210
REBUILT,FR DRUM BRAKE
main04497-27011i198305-198609
REBUILT
main04497-27020i198101-198210
REBUILT,FR DISC BRAKE
47457PIN, SHOE HOLD DOWN SPRING(FOR REAR BRAKE)
main47447-20010×2i197910-198609
FR
main47447-20030×4i197910-198609
main47447-27010×2i197910-198609
RR
47459CUP, SHOE HOLD DOWN SPRING(FOR REAR BRAKE)
main47449-30020×8i197910-198609
47460ADJUSTER ASSY, SHOE, RH(FOR REAR BRAKE)
main47061-14021i197910-198609
main47460-27010i197910-198609
47470ADJUSTER ASSY, SHOE, LH(FOR REAR BRAKE)
main47062-14021i197910-198609
main47470-27010i197910-198609
47496PLUG, HOLE(FOR REAR BRAKE)
main47491-20011×2i197910-198609
main47491-20020×2i197910-198609
47536PISTON, WHEEL BRAKE CYLINDER(FOR REAR BRAKE)
main47051-22031×4i197910-198210
ID=19.05W/C,FR DISC; ID=19.05W/C,FR DRUM,W/O LSPV
main47051-22040×4i197910-198210
ID=20.64,FR DRUM; ID=20.64W/C,FR DRUM,W/LSPV
47547RPLUG, BLEEDER(FOR DRUM BRAKE, REAR)
main47547-20010×2i197910-198609
47548RCAP, BLEEDER PLUG(FOR DRUM BRAKE, REAR)
main31478-30010×2i197910-198609
47550CYLINDER ASSY, REAR WHEEL BRAKE(FOR RH, FRONT OR UPPER)
main47550-19125i198210-198609
ID=19.05
main47550-19135i198210-198609
ID=20.64
main47550-29245i197910-198305
ID=15.87
main47550-29246i198305-198609
ID=15.87
47550CSPRING, COMPRESSION(FOR REAR WHEEL BRAKE CYLINDER)
main47509-12010×2i197910-198210
ID=19.05W/C,FR DISC; ID=19.05W/C,FR DRUM,W/O LSPV
main47509-12020×2i197910-198210
ID=20.64,FR DRUM; ID=20.64W/C,FR DRUM,W/LSPV
main90501-06012×2i197910-198609
ID=15.87 W/C
47550LCUP KIT, REAR WHEEL CYLINDER
main04906-12030i197910-198210
ID=19.05W/C,FR DISC; ID=19.05W/C,FR DRUM,W/O LSPV
main04906-12040i198210-198609
ID=20.64W/C,FR DISC BRAKE; ID=20.64W/C,FR DRUM,W/LSPV
main04906-27010i197910-198609
ID=15.87 W/C
47570CYLINDER ASSY, REAR WHEEL BRAKE(FOR LH, FRONT OR UPPER)
main47550-19125i197910-198210
ID=19.05
main47550-19135i197910-198210
W/LSPV,ID=20.64
main47550-29245i197910-198305
ID=15.87
main47550-29246i198305-198609
ID=15.87
47601LEVER SUB-ASSY, PARKING BRAKE SHOE, RH(FOR REAR BRAKE)
main47601-14010i197910-198609
main47611-27010i197910-198609
47601BSHIM, REAR PARKING BRAKE SHOE LEVER
main90564-08150×2i197910-198609
main90564-08151×2i197910-198609
main90564-08152×2i197910-198609
main90564-08172×2i197910-198609
main90564-08173×2i198210-198609
main90564-08174×2i198210-198609
47601CWASHER, C(FOR REAR BRAKE)
main90213-06013×4i197910-198609
main90213-07010×2i197910-198609
47602LEVER SUB-ASSY, PARKING BRAKE SHOE, LH (FOR REAR BRAKE)
main47602-14010i197910-198609
main47612-27010i197910-198609
47663LEVER, AUTOMATIC ADJUST, RH(FOR REAR BRAKE)
main47643-20020i197910-198609
47664LEVER, AUTOMATIC ADJUST, LH(FOR REAR BRAKE)
main47644-20020i197910-198609
9011906084

28 parts on this diagram · 2 diagrams in section

REAR DRUM BRAKE WHEEL CYLINDER & BACKING PLATE — Toyota Parts Diagram with OEM Numbers & Prices | EPC Data