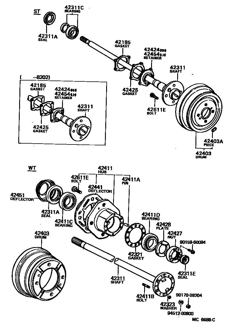
REAR AXLE SHAFT & HUB

42185GASKET, REAR AXLE HOUSING END
42311SHAFT, REAR AXLE
42311ASEAL, OIL(FOR REAR AXLE SHAFT)
42311CBEARING(FOR REAR AXLE SHAFT)
42311ESEAL, OIL(FOR REAR AXLE SHAFT OUTER)
42321GASKET, REAR AXLE SHAFT
42323WASHER, CONE (FOR REAR AXLE SHAFT)
42403DRUM SUB-ASSY, REAR BRAKE
42403APIECE, BALANCE (FOR REAR BRAKE DRUM)
42411HUB, REAR AXLE
42411APIN, STRAIGHT (FOR REAR AXLE HUB)
42411BBOLT, STUD (FOR REAR AXLE HUB)
42411CBEARING, TAPERED ROLLER (FOR REAR AXLE INNER BEARING)
42411DBEARING, TAPERED ROLLER (FOR REAR AXLE OUTER BEARING)
42424RETAINER, REAR AXLE BEARING, OUTER, RH
42425GASKET, REAR AXLE BEARING RETAINER
42427NUT, REAR AXLE BEARING LOCK
42428PLATE, REAR AXLE LOCK NUT
42441DEFLECTOR, BRAKE DRUM OIL
42451DEFLECTOR, REAR WHEEL BEARING DUST, NO.1
42454RETAINER, REAR AXLE BEARING, OUTER, LH
42611EBOLT, HUB (FOR REAR AXLE)
9015960094
main90159-60094
9017008204
main90170-08204
9451200800
main94512-00800
25 parts on this diagram · 1 diagram in section