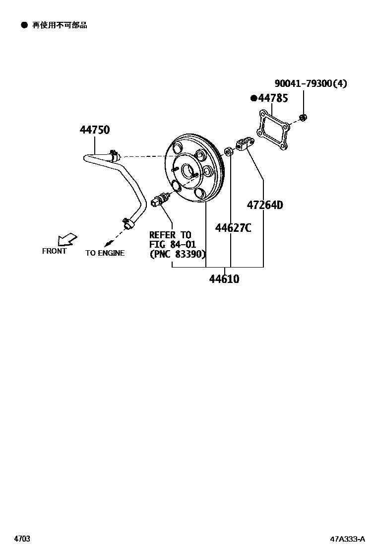
BRAKE BOOSTER & VACUUM TUBE

44610BOOSTER ASSY, BRAKE
44627CNUT, BOOSTER SLEEVE CYLINDER
44750HOSE ASSY, VACUUM
44785GASKET, BRAKE BOOSTER
47264DCLEVIS, BRAKE MASTER CYLINDER PUSH ROD
8401SWITCH & RELAY & COMPUTER
9004179300
main90041-79300
7 parts on this diagram · 3 diagrams in section