E
EPC Data

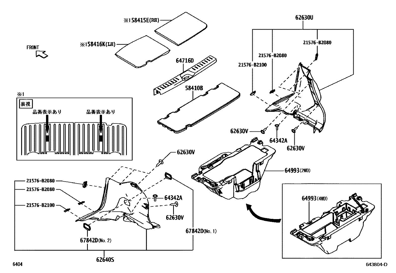
DECK BOARD & DECK TRIM COVER

Parts diagram
58410BBOARD ASSY, DECK
main58410-B2350-B0i201808-202001
DK GRAY,TRIM1#; DK GRAY,TRIM1#,2#
main58410-B2350-B1i201710-201808
DK.GRAY,TRIM3#,4#; DK.GRAY,TRIM4#
58415EBOARD, REAR FLOOR, NO.1
main58470-B2070-B0i201609-201710
DK.GRAY,TRIM1#,4#
main58470-B2071-B1i201808-202001
main58470-B2110-B0i202003-202306
58416KBOARD, REAR FLOOR, NO.2
main58480-B2010-B0i201609-201710
DK.GRAY,TRIM1#,4#
main58480-B2011-B1i201808-202001
main58480-B2100-B0i202003-202306
62630UPANEL ASSY, QUARTER TRIM, REAR RH
main62630-B2590-B1i201710
DK GRAY,TRIM3#,4#; DK GRAY,TRIM4#
62630VCLIP (FOR QUARTER REAR TRIM)
main90044-67609-B0×8i201609-201611
DK.GRAY,TRIM1#; DK.GRAY,TRIM1#,2#; DK.GRAY,TRIM1#,4#
main90044-67609-C0×8i201611-201710
BLACK,TRIM1#,4#
62640SPANEL ASSY, QUARTER TRIM, REAR LH
main62640-B2560-B1i201609-201710
DK GRAY,TRIM1#,4#
64342ACLIP
main90044-68046-B2×2i201609-201610
DK.GRAY
main90044-68046-C2×2i201610
BLACK
64716DCOVER, DECK TRIM, REAR
main64716-B2220-B0i201609-201710
DK.GRAY,TRIM1#,4#
64993BOX, DECK FLOOR, REAR
main64993-B2031i201609
main64993-B2070i201609
67842DCOVER, QUARTER SERVICE HOLE, LH
main62538-B2040-B0i201609-201710
main62538-B2050-B0i201609-202001
21576B2080CLIP, PUMP STRAINER
21576B2100CLIP, PUMP STRAINER

12 parts on this diagram · 1 diagram in section

DECK BOARD & DECK TRIM COVER — Toyota Parts Diagram with OEM Numbers & Prices | EPC Data