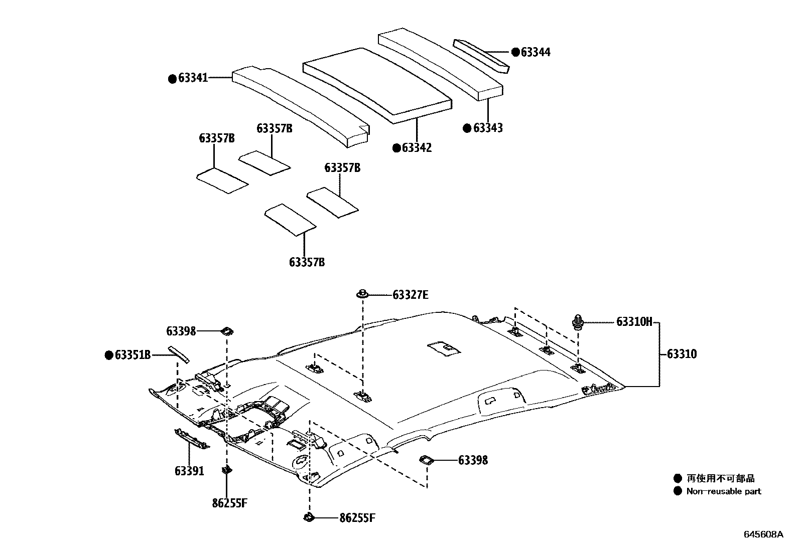
ROOF HEADLINING & SILENCER PAD

63310HEADLINING ASSY, ROOF
BLACK,TRIM2#
63310HCLIP(FOR ROOF HEADLINING)
63327EFASTENER, ROOF HEADLINING, NO.1
63341PAD, ROOF SILENCER, NO.1
63342PAD, ROOF SILENCER, NO.2
63343PAD, ROOF SILENCER, NO.3
63344PAD, ROOF SILENCER, NO.4
63351BPAD, ROOF HEADLINING
63357BSILENCER, ROOF
63391TRIM, ROOF HEADLINING, FRONT
63398PLATE, ROOF HEADLINING SUPPORT
86255FCASE, MICROPHONE
WHITE,TRIM1#,4#,8#
BLACK,TRIM2#
12 parts on this diagram · 2 diagrams in section