RADIO RECEIVER & AMPLIFIER & CONDENSER

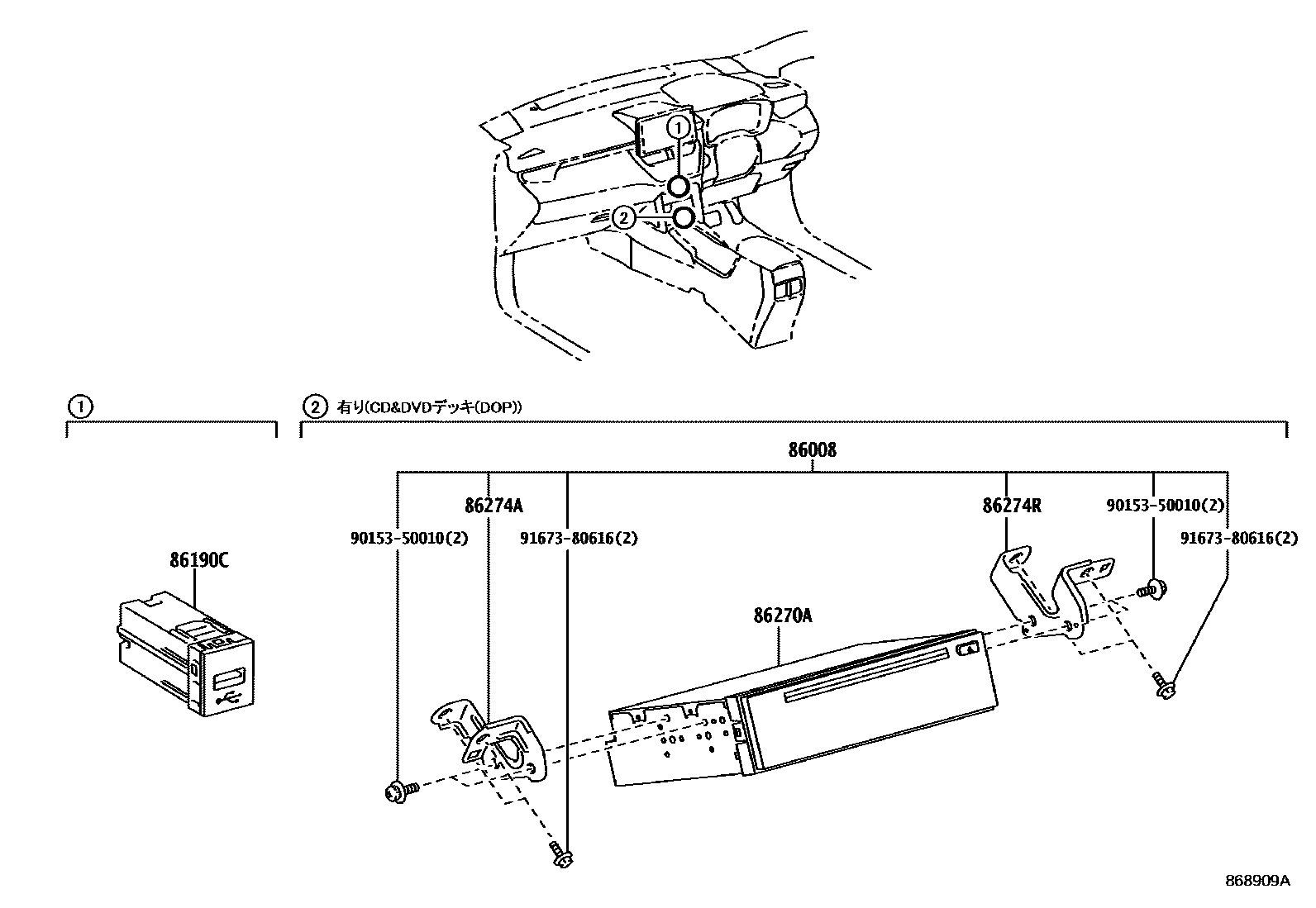
86008DECK SET, DISC PLAYER
86190CADAPTER ASSY, STEREO JACK, NO.1
86270ADISC PLAYER ASSY
86274ABRACKET, DISC PLAYER
86274RBRACKET, DISC PLAYER, NO.2
9015350010
main90153-50010
9167380616
main91673-80616
7 parts on this diagram · 2 diagrams in section