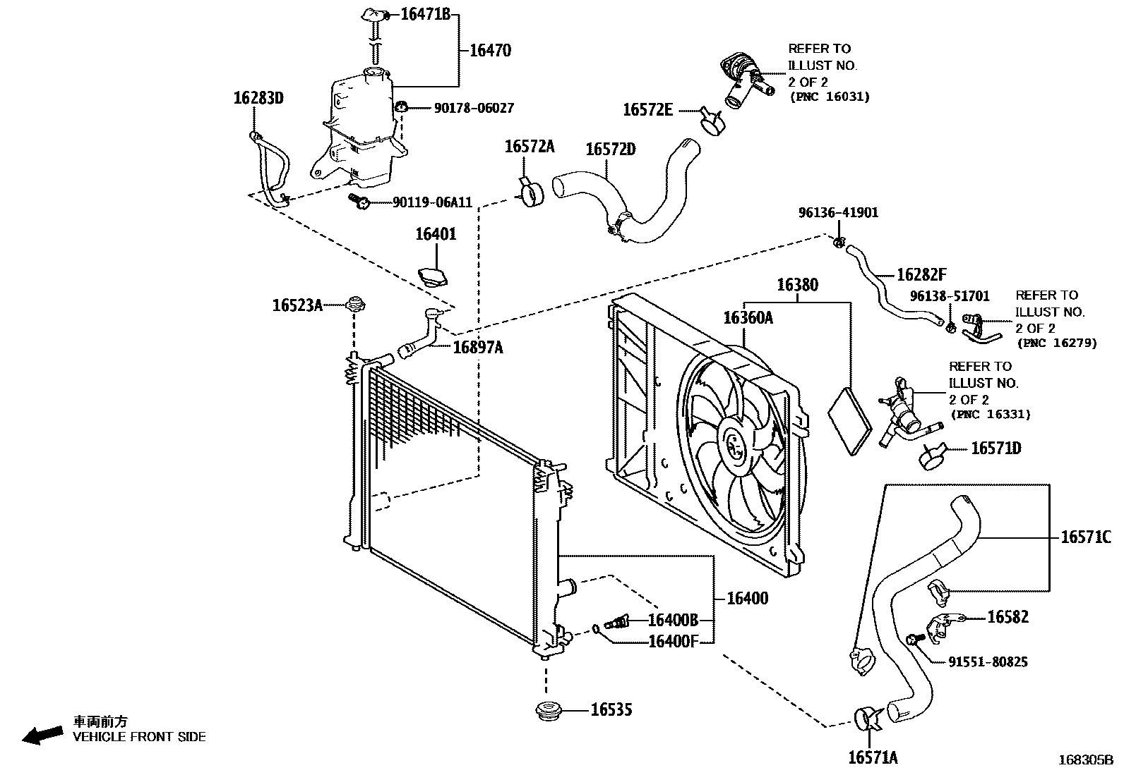
RADIATOR & WATER OUTLET

16282HOSE, WATER BY-PASS, NO.5
16282FHOSE, WATER BY-PASS, NO.5
16283HOSE, WATER BY-PASS, NO.6
16283DHOSE, WATER BY-PASS, NO.6
16360AFAN ASSY, W/MOTOR
16380BRACKET ASSY, FAN
16400RADIATOR ASSY
16400BPLUG, RADIATOR DRAIN COCK
16400FPACKING(FOR RADIATOR DRAIN COCK)
16401CAP SUB-ASSY, RADIATOR
16470TANK ASSY, RADIATOR RESERVE
16471BCAP, RESERVE TANK
16523ACUSHION, RADIATOR SUPPORT
16535SUPPORT, RADIATOR, LOWER
16571ACLAMP OR CLIP, HOSE(FOR RADIATOR INLET)
16571CHOSE, RADIATOR, NO.1
16571DCLIP, RADIATOR HOSE, NO.1
16572ACLAMP OR CLIP, HOSE(FOR RADIATOR OUTLET NO.1)
16572DHOSE, RADIATOR, NO.2
16572ECLIP, RADIATOR HOSE, NO.2
16582BRACKET, RADIATOR, NO.1
16897ANECK, FILLER
9011906A11
main90119-06A11
9017806027
main90178-06027
9155180825
main91551-80825
9613641901
main96136-41901
9613851701
main96138-51701
27 parts on this diagram · 9 diagrams in section