E
EPC Data

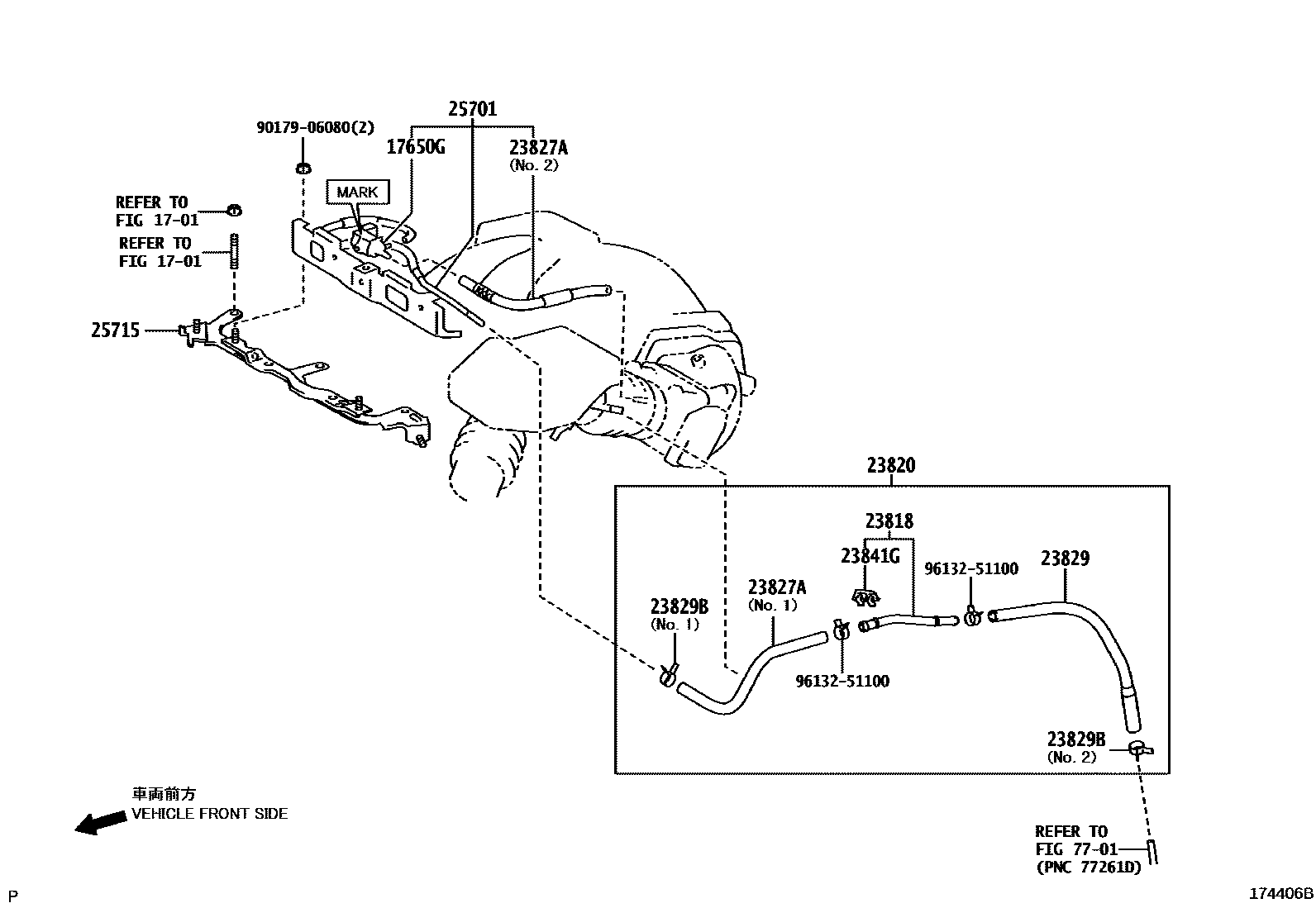
VACUUM PIPING

Parts diagram
17650GVALVE, DUTY VACUUM SWITCHING
main90910-12259i200503
main90910-12272i200503
23818PIPE, FUEL VAPOR FEED
main23818-20010i200503
23820HOSE ASSY, FUEL VAPOR FEED
main23820-20240i200503-201206
23827AHOSE, FUEL VAPOR FEED, NO.2
main23827-20060i200503
main23827-20120i200503
23829HOSE, FUEL VAPOR FEED, NO.3
main23829-20150i200503
23829BCLIP(FOR FUEL VAPOR FEED HOSE)
main90466-11003i200503
main96133-41300i200503
23841GCLAMP, FUEL HOSE
main23841-20050i200503
25701VALVE SET, EMISSION CONTROL
main25701-20240i200503
25715BRACKET, EMISSION CONTROL VALVE
main25715-20021i200503
7701FUEL TANK & TUBE
9017906080
9613251100

13 parts on this diagram · 1 diagram in section

VACUUM PIPING — Toyota Parts Diagram with OEM Numbers & Prices | EPC Data