E
EPC Data

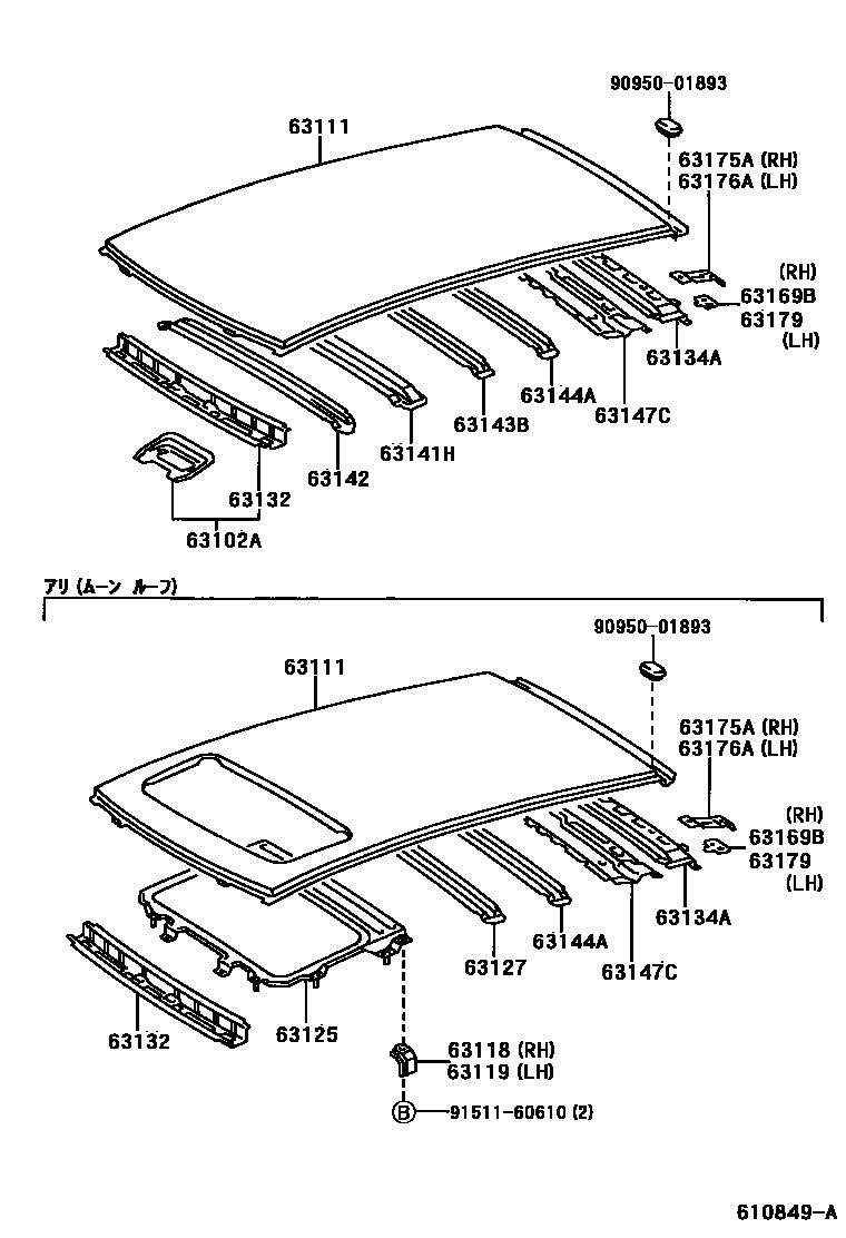
ROOF PANEL & BACK WINDOW GLASS

Parts diagram
63102APANEL SUB-ASSY, WINDSHIELD HEADER
main63102-44030i199807
63111PANEL, ROOF
main63111-44070i199807-200104
main63111-44080i199807-200104
main63111-44081i200104
main63111-44090i199807-200104
main63111-44091i200104
main63111-44100i199807-200104
63118SUPPORT, ROOF PANEL, RH
main63118-44030i199807
63119SUPPORT, ROOF PANEL, LH
main63118-44030i199807
63125REINFORCEMENT, ROOF PANEL, NO.2
main63125-44030i199807
63127REINFORCEMENT, ROOF PANEL, NO.5
main63127-44020i199807
63132PANEL, WINDSHIELD HEADER, INNER
main63132-44030i199807
63134AFRAME, BACK DOOR OPENING, UPPER
main63134-44030i199807
63141HREINFORCEMENT, ROOF PANEL, CENTER
main63141-44030i199807
63142REINFORCEMENT, ROOF PANEL, NO.2
main63142-44030i199807
63143BREINFORCEMENT, ROOF PANEL, NO.3
main63143-44030i199807
63144AREINFORCEMENT, ROOF PANEL, NO.4
main63144-44030i199807
63147CREINFORCEMENT, BACK DOOR OPENING FRAME, UPPER CENTER
main63147-44030i199807
63169BPLATE, ROOF PANEL REINFORCEMENT, RH
main63169-44010i199807
63175AREINFORCEMENT, BACK DOOR HINGE FEMALE, RH
main63175-44030i199807
63176AREINFORCEMENT, BACK DOOR HINGE FEMALE, LH
main63176-44030i199807
63179PLATE, ROOF PANEL REINFORCEMENT, LH
main63179-44010i199807
9095001893
9151160610

19 parts on this diagram · 3 diagrams in section

ROOF PANEL & BACK WINDOW GLASS — Toyota Parts Diagram with OEM Numbers & Prices | EPC Data