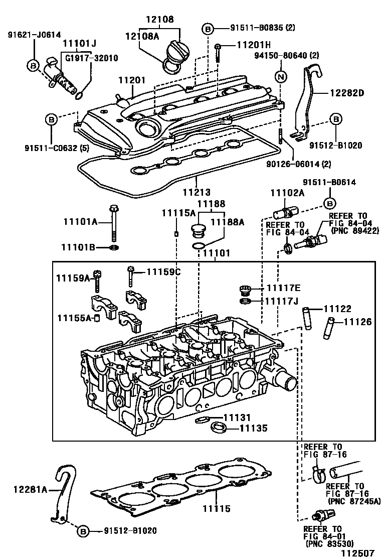
CYLINDER HEAD

11102ASENSOR, CAMSHAFT POSITION
11117EPLUG, W/HEAD STRAIGHT SCREW, NO.1
11117JGASKET(FOR CYLINDER HEAD SCREW PLUG)
11131SEAT, INTAKE VALVE
11155APIN, RING W/HEAD
11159CBOLT(FOR HEAD TO CAMSHAFT BEARING CAP)
11188PLUG, CAMSHAFT HOUSING
11188ARING, O(FOR CAMSHAFT HOUSING PULG)
11201HBOLT(FOR CYLINDER HEAD COVER)
11213GASKET, CYLINDER HEAD COVER
12108AGASKET(FOR OIL FILLER CAP)
12281AHANGER, ENGINE, NO.1
12282DHANGER, ENGINE, NO.2
8401
8404
8716
9012606014
main90126-06014
91511B0614
main91511-B0614
91511B0835
main91511-B0835
91511C0632
main91511-C0632
91512B1020
main91512-B1020
91621J0614
main91621-J0614
9415080640
main94150-80640
G191732010
mainG1917-32010
36 parts on this diagram · 3 diagrams in section