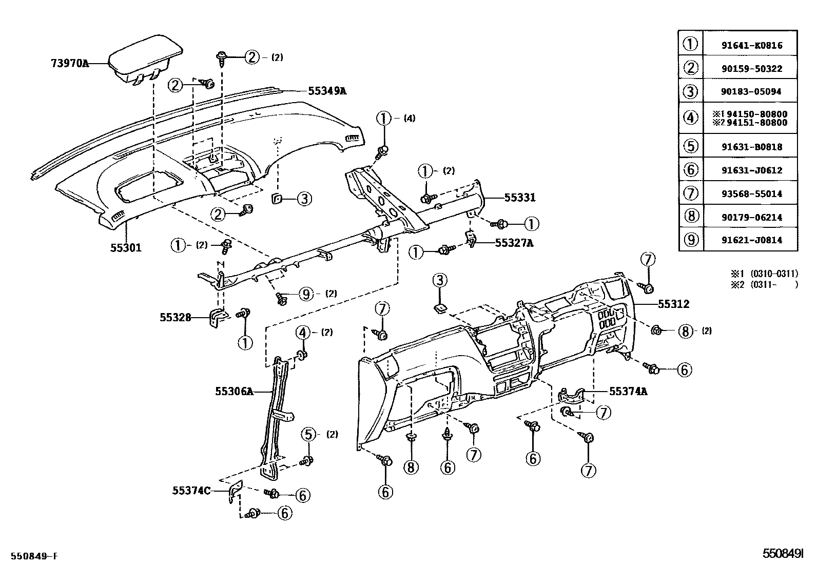
INSTRUMENT PANEL & GLOVE COMPARTMENT

55301PANEL SUB-ASSY, INSTRUMENT
DK.GRAY,TRIM1#
BLACK,TRIM1#
ORCHID BROWN,TRIM0#
SANDAL WOOD,TRIM0#
55306ABRACE SUB-ASSY, INSTRUMENT PANEL, NO.1
55312PANEL, INSTRUMENT, LOWER
IVORY,TRIM0#
MD.GRAY,TRIM1#
DK.GRAY,TRIM1#
55327ASTAY, INSTRUMENT PANEL, NO.2
55328PIN, INSTRUMENT PANEL, NO.1
55331REINFORCEMENT, INSTRUMENT PANEL
55349ACUSHION, INSTRUMENT PANEL
55374ABRACKET, INSTRUMENT PANEL LOWER MOUNTING, RH
55374CBRACKET, INSTRUMENT PANEL LOWER MOUNTING, NO.1
73970AAIRBAG ASSY, INSTRUMENT PANEL PASSENGER
9015950322
main90159-50322
9017906214
main90179-06214
9018305094
main90183-05094
91621J0814
main91621-J0814
91631B0818
main91631-B0818
91631J0612
main91631-J0612
91641K0816
main91641-K0816
9356855014
main93568-55014
9415080800
main94150-80800
9415180800
main94151-80800
20 parts on this diagram · 2 diagrams in section