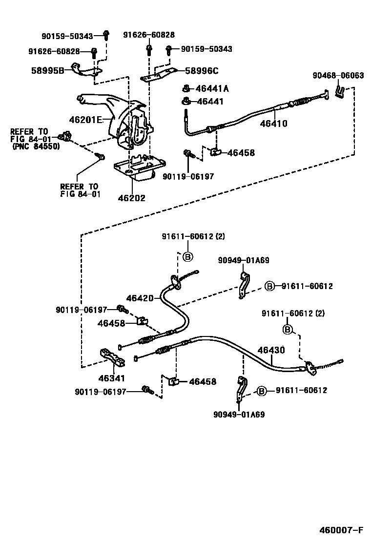
PARKING BRAKE & CABLE

46202BOOT SUB-ASSY, PARKING BRAKE LEVER
46341EQUALIZER, PARKING BRAKE
46410CABLE ASSY, PARKING BRAKE, NO.1
46420CABLE ASSY, PARKING BRAKE, NO.2
46430CABLE ASSY, PARKING BRAKE, NO.3
46441NUT, WIRE ADJUSTING, NO.1
sub90179-06171
46441ANUT, WIRE ADJUSTING, NO.2
sub90179-06299
46458RETAINER, CABLE
58995BBRACKET, CONSOLE BOX MOUNTING, NO.1
58996CBRACKET, CONSOLE BOX MOUNTING, NO.2
8401
9011906197
main90119-06197
9015950343
main90159-50343
9046806063
main90468-06063
9094901A69
main90949-01A69
9161160612
main91611-60612
9162660828
main91626-60828
18 parts on this diagram · 1 diagram in section